بندول

البندول أو الرقاص أو الخطار أو النواس pendulum، هو هو جسم يترجح، جيئة وذهاباً، حول نقطة معينة، إذا شد إلى جانب، ثم ترك حرا. وتعمل الجاذبية على ترجحه بمعدل منتظم. ويتكون البندول البسيط من ثقل، معلق في نهاية خيط أو سلك. ويسمى المسار، الذي يتحرك عليه الثقل، قوس البندول. ويسمى الزمن، الذي يستغرقه الثقل، لكي يتحرك جيئة وذهاباً، مرة واحدة، على هذا القوس، فترة الذبذبة.
وإذا نقل بندول من مكان إلى مكان آخر على سطح الأرض، فإن فترة الذبذبة تتغير بقدر طفيف، نتيجة لاختلاف قوة الجاذبية. وتزداد فترة الذبذبة، إذا رفع البندول من مستوى سطح البحر إلى قمة جبل؛ نظراً إلى أن قوة الجاذبية، تكون أقل في الارتفاعات العليا. فالبندول البسيط، المثبت عند سطح البحر، والذي طوله 24.87سم، له فترة ذبذبة، قدرها ثانية واحدة؛ والبندول الذي له أربعة أمثال هذا الطول، له فترة ذبذبة، قدرها ثانيتان؛ والذي له تسعة أمثال هذا الطول، تكون فترة ذبذبته ثلاث ثوانٍ.
أجزاء البندول
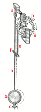
يتكون، عادة، من قضيب، يحمل في أحد طرفيه وزنا ثقيلاً، ويتصل طرفه الآخر بحامل صلد. ويمكن، بوساطة مسمار عند طرف القضيب، التحكم في رفع وخفض الثقالة (الوزن). وعندما تنخفض الثُّقالة، يصبح ترجُّح البندول أكثر بُطئاً، ويؤدي ذلك إلى تأخير توقيت الساعة. وأما إذا رفعت الثقالة، فإن ترجحه يتسارع، ما يؤدي إلى تقديم توقيت الساعة. ويجب أن يكون المفصل، الذي يترجح حوله البندول، أملس إلى أقصى حد ممكن؛ ويُصنع، عادة، من سن حادّة من العقيق، مرتكزة على ثقب داخل قطعة من العقيق.
وتتحكم في آلية الساعة أداة، تسمى الشاكوش (الميزان)، وظيفتها إعطاء البندول دفعات صغيرة منتظمة، تعمل على استمراره في الترجح. وكلما اكتملت حركة البندول، عمد الشاكوش إلى إمرار إحدى أسنان عجلة مسنَّنة، وهو ما يُكسب الساعة صوت دقاتها المعهود: تك ـ تك.
يتمدد قضيب الساعة، إذا سخن؛ وينكمش، إذا برد. وما لم يصحح هذا التأثر، فإنَّ الساعة ستؤخر التوقيت في الجو الحار، وتقدمه في الجو البارد. وهناك عدة وسائل لتصحيح هذا التأثير. فمثلاً، تحتوي الساعات، المعروفة باسم المنظمات، على بندولات شبكية، وهي التي تتركب من عدة قضبان من النحاس والفولاذ. تتصل هذه القضبان اتصالاً، يتيح لقضبان النحاس رفع الثقل، عند زيادة درجة الحرارة، على حين أن قضبان الفولاذ، تعمل على خفضه. وبذا، يظل الطول الكلي للبندول ثابتاً. وفي هندسة أخرى، يُحتفظ بطول البندول ثابتاً، من طريق تمدد وانكماش زئبق موضوع في قدح، يترجَّح عند طرف القضيب.
آلية العمل
طاقة الحركة وطاقة الوضع
مقالة مفصلة: بقاء الطاقة

عندما يتحرك جسم في مجال كمجال الجاذبية الأرضية، وهذه هي حركة الرقاص ، تكون مجموع طاقة الحركة و طاقة وضعه دائما ثابته - طالما لا يوجد احتكاك . فإذا رمزنا لطاقة حركة الجسم بالرمز K ورمزنا لطاقة وضعه بالرمز V ، تنطبق المعادلة على حركة الجسم :
في جميع الأوقات.
ونحسب طاقة الوضع لجسم من المعادلة:
حيث:
- m كتلة الجسم بالكيلوجرام
- g عجلة الجاذبية الأرضية : 81و9 متر/ثانية/ثانية
- h1 ارتفاع الجسم عن الأرض عند النقطة العلوية (بالمتر)
- h0 ارتفاع الجسم عن الأرض عند النقطة السفلى (بالمتر).
فإدا حسبنا تلك المعادلة حصلنا على مقدار طاقة وضعه بالكيلوجرام. متر2/ثانية 2. أو الجول.
وهما من وحدات الطاقة.
حساب طاقة الحركة
رأينا أعلاه كيف نستطيع حساب طاقة الوضع. نفترض كرة من الحديد كتلتها 1 كيلوجرام معلقة بحبل طوله 2 متر، ونفترض أن كتلة الحبل مهملة بالنسبة إلى كتلة الكرة الحديدية. نزيح الكرة المعلقة مسافة إلى الجانب بحيث ترتفع عن وضعها الأول (وضع السكون) 1.0 متر. من هذه المعلومات يمكننا حساب تغير طاقة وضع الكرة بتغير ارتفاعها، طبقا للمعادلة:
بالتعويض عن تلك القيم نحصل على طاقة وضع الكرة عند أعلى نقطة على مسارها:
من ناحية أخرى نعرف أن عند أعلى نقطة على مسار الكرة الدائري تكون طاقة حركة الكرة مساوية للصفر وتبدأ في الزيادة بالحركة في اتجاه نقطة السكون ، وعندها تبلغ سرعة الكرة أعلى قدر لها. أي تكون طاقة وضع الكرة قد تحولت إلى أقصى طاقة حركة لها عند النقطة الوسطية (السفلى). إذن نستطيع كتابة المعادلة التي تعطي طاقة الحركة للكرة عند تلك النقطة، وهي:
أي أن طاقة حركة الكرة عند النقطة الوسطية تساوي:
والوحدة هنا أيضا كيلوجرام . متر2/ثانية 2
ومنها نستطيع حساب السرعة القصوى v للكرة:
السرعة القصوى = 1.4 متر/الثانية
فترة التسارع
البندول المركب
التاريخ
اخترع أبو سعيد بن يونس المصري بندول الساعة، نحو عام 390 هـ ـ 1000م. وأضاف إليه كمال الدين الموصلي (ت: 639هـ ـ 1242م)، أشياء متعلقة بالتذبذب.

واكتشف جاليليو، بعد ذلك، قوانين عمل البندول. فقد لاحظ أن فترة الذبذبة لترجح مصباح معلق، تكاد تكون ثابتة، سواء أكبيراً كان القوس أم صغيراً. كما توقع استخدام البندول في ضبط حركة الساعة. وفي عام 1657 ، اخترع الهولندي كريستيان هايجنز ، أول ساعة بندولية. وعلى الرغم من أنَّ معدات القياس الحديثة، تظهر أن فترة الذبذبة للبندول، تزيد عندما يكون ترجحه كبيرًا، فإن ملاحظات جاليليو، تظل صحيحة، ما دام ترجحه قليلاً.
1602: أبحاث گاليليو
1656: الساعة ذات البندول
الساعة ذات البندول، هي ساعة تعمل بالنابض على نابض ملفوف يعرف بالنابض الرئيسي، يُلف حول محور عند تعبئة الساعة. وعندما ينفك هذا النابض من لفته ببطء، فإنه يدير العجلات في حزمة التروس. وتدير الساعات العاملة بالنابض بطاريات تقوم بإعادة لف النابض الرئيسي تلقائياً قبل انفكاكه بشكل كامل، ويشبه ميزان الساعة العاملة بالنابض ميزان الساعة التي تُدار بالثقل. غير أن العديد من الساعات العاملة بالنابض ذات عجلة توازن تعمل كأداة لحفظ الوقت بدلاً من البندول. ويقوم نابض شعري لولبي دقيق يُسمى نابض التوازن، متصل بعجلة توازن الساعة، بتنظيم حركة هذه العجلة. وعندما يلتف وينفك نابض التوازن فإنه يؤرجح عجلة التوازن ذهاباً وإياباً بمعدل ثابت. وتؤدي حركة الأرجحة هذه إلى إمالة المحور الدوار. وتعمل الحابسة على الإمساك بعجلة الانفلات وإفلاته بالتعاقب، مما يؤدي إلى تنظيم سرعة حزمة التروس.
1673: هويگنز' الاهتزاز والميقاتية
1721: البندول الحراري

1851: بندول فوكو
1930: تراجع الإستخدام
الاستخدام لقياس الوقت
بناديل الساعة

تعويض درجة الحرارة

بندول الزئبق
بندول گريديرون

A: exterior schematic
B: normal temperature
C: higher temperature
إنڤار والكوارتز المنصهر
الضغط الجوي
الجاذبية
دقة البناديل في ضبط الوقت
العامل Q

ميزان الساعة
الظروف الجوية
قياس الجاذبية
بندول الثواني
عمليات الرصد المبكرة
بندول كاتر
بناديل قياس الجاذبية اللاحقة




معيار الطول
المقترحات المبكرة
المتر
بريطانيا والدنمارك
استخدامات أخرى
أجهزة قياس الزلازل
ضبط شولر
البناديل المزدوجة
الاستخدام الديني
الإعدام
انظر أيضاً
الهوامش
The value of g reflected by the period of a pendulum varies from place to place. The gravitational force varies with distance from the center of the Earth, i.e. with altitude - or because the Earth's shape is oblate, g varies with latitude. A more important cause of this reduction in g at the equator is because the equator is spinning at one revolution per day, reducing the gravitational force there.
المصادر
Note: most of the sources below, including books, can be viewed online through the links given.
- ^ Yurchenko D., Alevras P. Dynamics of the N-pendulum and its application to a wave energy converter concept. International Journal of Dynamics and Control, 1,4, 2013.
قراءات إضافية
- G. L. Baker and J. A. Blackburn (2009). The Pendulum: A Case Study in Physics (Oxford University Press).
- M. Gitterman (2010). The Chaotic Pendulum (World Scientific).
- Michael R. Matthews, Arthur Stinner, Colin F. Gauld (2005)The Pendulum: Scientific, Historical, Philosophical and Educational Perspectives, Springer
- Michael R. Matthews, Colin Gauld and Arthur Stinner (2005) The Pendulum: Its Place in Science, Culture and Pedagogy. Science & Education, 13, 261-277.
- Schlomo Silbermann,(2014) "Pendulum Fundamental; The Path Of Nowhere" (Book)
- Matthys, Robert J. (2004). Accurate Pendulum Clocks. UK: Oxford Univ. Press. ISBN 0-19-852971-6.
- Nelson, Robert; M. G. Olsson (February 1986). "The pendulum – Rich physics from a simple system" (PDF). American Journal of Physics. 54 (2): 112–121. Bibcode:1986AmJPh..54..112N. doi:10.1119/1.14703. Retrieved 2008-10-29.
- L. P. Pook (2011). Understanding Pendulums: A Brief Introduction (Springer).



