ضاغط الهواء
آلة ضاغطة للهواء (إنگليزية: air compressor) جهاز يُستخدم لضغط الهواء. وهناك نوع شائع يعمل وفقًا لنفس مبدأ عمل المِضَخَّة. وله كبَّاس يتحرك للخلف وللأمام داخل أسطوانة مجوفة، ضاغطًا الهواء، ودافعًا إياه إلى داخل حجيرة مغلقة. وتقوم أنابيب أو خراطيم متصلة بالحجيرة، بتمرير الهواء إلى الأدوات، أو الأجهزة الأخرى التي تعمل بالهواء المضغوط. وتقوم مثل تلك الأجهزة بأعمال مهمة؛ فالقاطرات، ومركبات الطرق الثقيلة، لديها ضاغطات هواء تزوِّد بالهواء المستخدم لتشغيل مكابحها. كما تزوِّد ضاغطات الهواء أيضًا بالهواء المستخدم لتشغيل الأدوات الهوائية ـ أي التي تعمل بالهواء ـ في المنشآت الصناعية، ومواقع البناء، والوِرَش المنزلية. ويمكن أن تُدَار مثل تلك الضاغطات بوساطة محركات كهربائية، أو محركات تعمل بالبنزين أو الديزل. كما تُستخدم ضاغطات متضامَّة، تدار بمحركات كهربائية، في البيوت لتشغيل مرشات الدهان، من نوع المروحة، كما أنّها تستخدم في التوربينات الغازيَّة، والمحركات النفاثة، وأجهزة أخرى.
تصنيف الضواغط
تُصنف الضواغط حسب مبدأ عملها، في ثلاثة أنواع:
- ـ الضواغط الحجمية (أو ذات الإزاحة الموجبة positive-displacement compressors)، وتعمل عن طريق الضغط المباشر على السائل من خلال تغير الحجم الذي يحوي هذا السائل (الهواء أو الغاز).
- ـ الضواغط الحركية dynamic compressors (أو ذات الريش)، وتعمل عن طريق تحريك الغاز قسرياً وتحويل طاقته الحركية إلى طاقة كامنة (طاقة ضغط).
- ـ وهناك نوع ثالث، هو الضواغط النفاثة jet - type compressors التي تعتمد على مزج تيارين مختلفي القدرة من سائلين، مما يؤدي إلى رفع طاقة السائل ذي الطاقة الأخفض.
يحتوي كل صنف من الصنفين الأولين على أشكال وأنواع مختلفة من حيث التصميم والأداء، إلا أنها تعمل وفق المبدأ ذاته.

الضواغط الحجمية
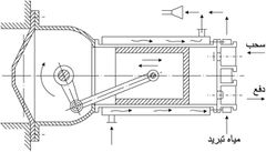
- -الضاغط المكبسي reciprocating compressor: وهو مؤلف من مكبس يتحرك داخل أسطوانة بشوطين؛ شوط سحب يكون خلاله صمام السحب مفتوحاً ويدخل الهواء (الغاز) إلى حجرة المكبس، وشوط دفع (ضغط) يتحرك خلاله المكبس بالاتجاه المعاكس، مما يؤدي إلى تقليل حجم الحجرة التي تحوي الهواء ومن ثم انضغاطه عند وصول قيمة ضغط الهواء إلى حد معين، يؤدي إلى أن يُفتح صمام الدفع ويخرج الهواء المضغوط من الحجرة، كما هو مبين في الشكل 1.
- ـ الضاغط الدوراني rotary compressor: وهو محور دوران متوضع بشكل لا مركزي داخل الغلاف الخارجي للضاغط، ومزود بصفائح قابلة للحركة قطرياً، بحيث تبقى ملامسة للجدار الداخلي لجسم الضاغط. يتغير الحجم الذي يحوي السائل في أثناء دوران المحور، مما يؤدي إلى انضغاطه في أثناء حركته من قسم السحب إلى قسم الدفع، كما هو مبين في الشكل 2، ويميز من هذه الضواغط نوعان:

- ـ الضاغط الحلزوني screw compressor: يتكون من محورين مسننين معشقين فيما بينهما، أحدهما قائد والثاني مقاد، يملأ الغاز التجاويف بين المسننات وفي أثناء الدوران يضغط و ينتقل من جزء السحب إلى جزء الدفع.
الضواغط الحركية
وهي على نوعين أيضاً:
1ـ الضواغط النابذة المركزية centrifugal compressors: وهي دوارة تحوي مجموعة من الريش، بحيث يدخل الهواء إلى الجزء العامل موازياً محور الدوران، ويخرج منه عمودياً على هذا المحور (أي بشكل قطري).
2ـ الضواغط المحورية axial compressors: وتتألف أيضاً من مجموعة من الريش، يدخل إليها الهواء ويخرج منها موازياً محور الدوران.
يبيّن الجدول (1) مقارنة بين الأنواع الأربعة المذكورة أعلاه من حيث مجالات التدفق ومعامل الانضغاط وعدد الدورات التي يمكن أن تعمل بها.
الجدول (1)
| النوع | m 3 /min | معامل الانضغاطε | عدد الدورات (n[r.p.m])! |
|---|---|---|---|
| مكبسي | s300ـs0 | s1000ـs2.5 | s300ـs3000 |
| دوراني | s500ـs0 | s12ـs3 | s15000ـs300 |
| نابذ | s4000ـs100 | s20ـs3 | s45000ـs1300 |
| محوري | s15000ـs100s | s20ـs2 | s20000ـs500 |
تطبيقات ضاغط الهواء
يستخدم ضاغط الهواء في الكثير من المنشآت الصناعية وفي الكثير من الاستخدامات اليومية التي تصادف. فمثلاً يستخدم الضاغط في ورشات صيانة السيارات، حيث يوفر الهواء المضغوط من أجل ملء الإطارات المطاطية، ومن أجل تنظيف هذه السيارات بالهواء، كما يُشاهد استخدام آخر له في ورشات الدهان، حيث يستخدم الهواء المضغوط في بخ السطوح المراد دهانها؛ وذلك عبر تمرير الهواء المضغوط إلى حجرة مزج يمتزج فيها مع الدهان ويخرجان معاً عند الاستخدام. كما يستخدم في عيادات أطباء الأسنان لإدارة العنفة (التوربين) في المقبض الحامل لريش الحفر، ويستخدم في المشافي لضغط الأكسجين وتخزينه في عبوات للاستخدام عند الحاجة.

يُعدّ ضاغط الهواء عنصراً أساسياً لا يمكن الاستغناء عنه في دارات التبريد بجميع أنواعها (المكيفات وأنظمة التكييف المركزي، البرادات، …) وكذلك في محطات توليد الطاقة الغازية والبخارية. ومن الجدير بالذكر أن اختيار الضاغط العامل في هذه الحالات يعتمد إضافة إلى ما ذكر أعلاه من مواصفات على الدورة الحرارية التي يخضع لها الغاز أثناء في عملية الانضغاط ضمن الضاغط، ومن ثم على المواصفات الحرارية للغاز الخارج من الضاغط وملحقاته (المكثف في حالة دارات التبريد).
تلاقي الضواغط الهدروليكية استخداماً واسع الانتشار في الآلات الهندسية الإنشائية، ويستخدم ضاغط الهواء بفاعلية في الكثير من أنواع هذه الآلات، فعلى سبيل المثال لا الحصر، فهو يمثل العنصر الرئيسي في:
- ـ مطارق التكسير اليدوية jackhammers: إذ يوفر ضاغط الهواء، الهواء المضغوط اللازم لتحريك إزميل الحفر، والذي يتحرك حركةً ترددية بوساطة حجز الهواء المضغوط وتحريره عبر آلية محددة صممت لهذا الغرض (الشكل 3).
- ـ مكنات التثقيب الهوائيةpneumatic drilling machines : يعمل ضاغط الهواء فيها على توفير الهواء المضغوط اللازم لتحريك مكنة الحفر، أما في مكنات التثقيب الهدروليكية hydraulic drilling machines فيستخدم ضاغط الهواء من أجل تنظيف الثقوب المحفورة من نواتج الحفر (الشكل 4).
وتستخدم الضواغط أيضاً في تطبيقات كثيرة أخرى للحفر في أعمال التنقيب واستكشاف النفط، وحفر القنوات والأنفاق وغيرها.