رادون

(تم التحويل من الرادون)
Radon, 00Rn
Radon
المظهرغاز عديم اللون
Radon في الجدول الدوري
Hydrogen (reactive nonmetal)
Helium (noble gas)
Lithium (alkali metal)
Beryllium (alkaline earth metal)
Boron (metalloid)
Carbon (reactive nonmetal)
Nitrogen (reactive nonmetal)
Oxygen (reactive nonmetal)
Fluorine (reactive nonmetal)
Neon (noble gas)
Sodium (alkali metal)
Magnesium (alkaline earth metal)
Aluminium (post-transition metal)
Silicon (metalloid)
Phosphorus (reactive nonmetal)
Sulfur (reactive nonmetal)
Chlorine (reactive nonmetal)
Argon (noble gas)
Potassium (alkali metal)
Calcium (alkaline earth metal)
Scandium (transition metal)
Titanium (transition metal)
Vanadium (transition metal)
Chromium (transition metal)
Manganese (transition metal)
Iron (transition metal)
Cobalt (transition metal)
Nickel (transition metal)
Copper (transition metal)
Zinc (post-transition metal)
Gallium (post-transition metal)
Germanium (metalloid)
Arsenic (metalloid)
Selenium (reactive nonmetal)
Bromine (reactive nonmetal)
Krypton (noble gas)
Rubidium (alkali metal)
Strontium (alkaline earth metal)
Yttrium (transition metal)
Zirconium (transition metal)
Niobium (transition metal)
Molybdenum (transition metal)
Technetium (transition metal)
Ruthenium (transition metal)
Rhodium (transition metal)
Palladium (transition metal)
Silver (transition metal)
Cadmium (post-transition metal)
Indium (post-transition metal)
Tin (post-transition metal)
Antimony (metalloid)
Tellurium (metalloid)
Iodine (reactive nonmetal)
Xenon (noble gas)
Caesium (alkali metal)
Barium (alkaline earth metal)
Lanthanum (lanthanide)
Cerium (lanthanide)
Praseodymium (lanthanide)
Neodymium (lanthanide)
Promethium (lanthanide)
Samarium (lanthanide)
Europium (lanthanide)
Gadolinium (lanthanide)
Terbium (lanthanide)
Dysprosium (lanthanide)
Holmium (lanthanide)
Erbium (lanthanide)
Thulium (lanthanide)
Ytterbium (lanthanide)
Lutetium (lanthanide)
Hafnium (transition metal)
Tantalum (transition metal)
Tungsten (transition metal)
Rhenium (transition metal)
Osmium (transition metal)
Iridium (transition metal)
Platinum (transition metal)
Gold (transition metal)
Mercury (post-transition metal)
Thallium (post-transition metal)
Lead (post-transition metal)
Bismuth (post-transition metal)
Polonium (post-transition metal)
Astatine (metalloid)
Radon (noble gas)
Francium (alkali metal)
Radium (alkaline earth metal)
Actinium (actinide)
Thorium (actinide)
Protactinium (actinide)
Uranium (actinide)
Neptunium (actinide)
Plutonium (actinide)
Americium (actinide)
Curium (actinide)
Berkelium (actinide)
Californium (actinide)
Einsteinium (actinide)
Fermium (actinide)
Mendelevium (actinide)
Nobelium (actinide)
Lawrencium (actinide)
Rutherfordium (transition metal)
Dubnium (transition metal)
Seaborgium (transition metal)
Bohrium (transition metal)
Hassium (transition metal)
Meitnerium (unknown chemical properties)
Darmstadtium (unknown chemical properties)
Roentgenium (unknown chemical properties)
Copernicium (post-transition metal)
Nihonium (unknown chemical properties)
Flerovium (unknown chemical properties)
Moscovium (unknown chemical properties)
Livermorium (unknown chemical properties)
Tennessine (unknown chemical properties)
Oganesson (unknown chemical properties)
Xe

Rn

Og
أستاتينradonفرانسيوم
الرقم الذري (Z)86
المجموعة18
الدورةperiod 6
المستوى الفرعي  p-block
التوزيع الإلكتروني[Xe] 4f14 5d10 6s2 6p6
الإلكترونات بالغلاف2, 8, 18, 32, 18, 8
الخصائص الطبيعية
الطور at د.ح.ض.قgas
نقطة الانصهار202 K ​(−71 °س، ​−96 °F)
نقطة الغليان211.5 K ​(−61.7 °س، ​−79.1 °ف)
الكثافة (at STP)9.73 g/L
حين يكون سائلاً (عند ن.غ.)4.4 ج/سم³
النقطة الحرجة377 K, 6.28 MPa[1]
حرارة الانصهار3.247 kJ/mol
حرارة التبخر18.10 kJ/mol
السعة الحرارية المولية5R/2 = 20.786 J/(mol·K)
ضغط البخار
P (Pa) 1 10 100 1 k 10 k 100 k
at T (K) 110 121 134 152 176 211
الخصائص الذرية
الكهرسلبيةمقياس پاولنگ: 2.2
طاقات التأين
  • الأول: 1037 kJ/mol
نصف قطر التكافؤ150 pm
نصف قطر ڤان در ڤالز220 pm
Color lines in a spectral range
خصائص أخرى
البنية البلوريةface-centered cubic (fcc)
Face-centered cubic crystal structure for radon
سرعة الصوت قضيب رفيع3.61×10-3  W/(m·K)
الترتيب المغناطيسيnon-magnetic
رقم كاس10043-92-2
التاريخ
الاكتشافإرنست رذرفورد و Robert B. Owens (1899)
أول عزلWilliam Ramsay و Robert Whytlaw-Gray (1910)
نظائر الradon v • [{{fullurl:Template:{{{template}}}|action=edit}} e] 
قالب:جدول نظائر radon غير موجود
تصنيف التصنيف: Radon
| المراجع

الرادون Radon هو عنصر كيميائي رمزه Rn و رقمه الذري 86. وهو غاز خامل عديم اللون والطعم والرائحه ينتج عن تفكك مادة الراديوم ، وهو مشع. It is a radioactive, colorless, odorless, tasteless noble gas. It occurs naturally in minute quantities as an intermediate step in the normal radioactive decay chains through which thorium and uranium slowly decay into lead and various other short-lived radioactive elements; radon itself is the immediate decay product of radium. Its most stable isotope, 222Rn, has a half-life of only 3.8 days, making radon one of the rarest elements since it decays away so quickly. However, since thorium and uranium are two of the most common radioactive elements on Earth, and they have three isotopes with very long half-lives, on the order of several billions of years, radon will be present on Earth long into the future in spite of its short half-life as it is continually being generated. The decay of radon produces many other short-lived nuclides known as radon daughters, ending at stable isotopes of lead.[2]

Unlike all the other intermediate elements in the aforementioned decay chains, radon is, under normal conditions, gaseous and easily inhaled. Radon gas is considered a health hazard. It is often the single largest contributor to an individual's background radiation dose, but due to local differences in geology,[3] the level of the radon-gas hazard differs from location to location. Despite its short lifetime, radon gas from natural sources, such as uranium-containing minerals, can accumulate in buildings, especially, due to its high density, in low areas such as basements and crawl spaces. Radon can also occur in ground water – for example, in some spring waters and hot springs.[4]

Epidemiological studies have shown a clear link between breathing high concentrations of radon and incidence of lung cancer. Radon is a contaminant that affects indoor air quality worldwide. According to the United States Environmental Protection Agency (EPA), radon is the second most frequent cause of lung cancer, after cigarette smoking, causing 21,000 lung cancer deaths per year in the United States. About 2,900 of these deaths occur among people who have never smoked. While radon is the second most frequent cause of lung cancer, it is the number one cause among non-smokers, according to EPA policy-oriented estimates.[5] Significant uncertainties exist for the health effects of low-dose exposures.[6] Unlike the gaseous radon itself, radon daughters are solids and stick to surfaces, such as dust particles in the air. If such contaminated dust is inhaled, these particles can also cause lung cancer.[7]

Characteristics

Emission spectrum of radon, photographed by Ernest Rutherford in 1908. Numbers at the side of the spectrum are wavelengths. The middle spectrum is of Radium emanation (radon), while the outer two are of helium (added to calibrate the wavelengths).

Physical properties

Radon is a colorless, odorless, and tasteless[8] gas and therefore is not detectable by human senses alone. At standard temperature and pressure, radon forms a monatomic gas with a density of 9.73 kg/m3, about 8 times the density of the Earth's atmosphere at sea level, 1.217 kg/m3.[9] Radon is one of the densest gases at room temperature and is the densest of the noble gases. Although colorless at standard temperature and pressure, when cooled below its freezing point of 202 K (−71 °C; −96 °F), radon emits a brilliant radioluminescence that turns from yellow to orange-red as the temperature lowers.[10] Upon condensation, radon glows because of the intense radiation it produces.[11] Radon is sparingly soluble in water, but more soluble than lighter noble gases. Radon is appreciably more soluble in organic liquids than in water.

Chemical properties

Radon is a member of the zero-valence elements that are called noble gases, and is chemically not very reactive. However, the 3.8-day half-life of radon-222 makes it useful in physical sciences as a natural tracer. Because radon is a gas at standard conditions, unlike its decay-chain parents, it can readily be extracted from them for research.[12]

It is inert to most common chemical reactions, such as combustion, because the outer valence shell contains eight electrons. This produces a stable, minimum energy configuration in which the outer electrons are tightly bound.[13] Its first ionization energy—the minimum energy required to extract one electron from it—is 1037 kJ/mol.[14] In accordance with periodic trends, radon has a lower electronegativity than the element one period before it, xenon, and is therefore more reactive. Early studies concluded that the stability of radon hydrate should be of the same order as that of the hydrates of chlorine (Cl 2) or sulfur dioxide (SO 2), and significantly higher than the stability of the hydrate of hydrogen sulfide (H 2S).[15]

Because of its cost and radioactivity, experimental chemical research is seldom performed with radon, and as a result there are very few reported compounds of radon, all either fluorides or oxides. Radon can be oxidized by powerful oxidizing agents such as fluorine, thus forming radon difluoride (RnF 2).[16][17] It decomposes back to its elements at a temperature of above 523 K (250 °C; 482 °F), and is reduced by water to radon gas and hydrogen fluoride: it may also be reduced back to its elements by hydrogen gas.[18] It has a low volatility and was thought to be RnF 2. Because of the short half-life of radon and the radioactivity of its compounds, it has not been possible to study the compound in any detail. Theoretical studies on this molecule predict that it should have a Rn–F bond distance of 2.08 Ångström (Å), and that the compound is thermodynamically more stable and less volatile than its lighter counterpart xenon difluoride (XeF 2).[19] The octahedral molecule RnF 6 was predicted to have an even lower enthalpy of formation than the difluoride.[20] The [RnF]+ ion is believed to form by the following reaction:[21]

Rn (g) + 2 [O 2]+ [SbF 6]  (s) → [RnF]+ [Sb 2F 11]  (s) + 2 O 2 (g)

For this reason, antimony pentafluoride together with chlorine trifluoride and N 2F 2Sb 2F 11 have been considered for radon gas removal in uranium mines due to the formation of radon–fluorine compounds.[12] Radon compounds can be formed by the decay of radium in radium halides, a reaction that has been used to reduce the amount of radon that escapes from targets during irradiation.[18] Additionally, salts of the [RnF]+ cation with the anions SbF6, TaF6, and BiF6 are known.[18] Radon is also oxidised by dioxygen difluoride to RnF 2 at 173 K (−100 °C; −148 °F).[18]

Radon oxides are among the few other reported compounds of radon;[22] only the trioxide (RnO 3) has been confirmed.[23] The higher fluorides RnF 4 and RnF 6 have been claimed,[23] and are calculated to be stable,[24] but it is doubtful whether they have yet been synthesized.[23] They may have been observed in experiments where unknown radon-containing products distilled together with xenon hexafluoride: these may have been RnF 4, RnF 6, or both.[18] Trace-scale heating of radon with xenon, fluorine, bromine pentafluoride, and either sodium fluoride or nickel fluoride was claimed to produce a higher fluoride as well which hydrolysed to form RnO 3. While it has been suggested that these claims were really due to radon precipitating out as the solid complex [RnF]+2[NiF6]2−, the fact that radon coprecipitates from aqueous solution with CsXeO 3F has been taken as confirmation that RnO 3 was formed, which has been supported by further studies of the hydrolysed solution. That [RnO3F] did not form in other experiments may have been due to the high concentration of fluoride used. Electromigration studies also suggest the presence of cationic [HRnO3]+ and anionic [HRnO4] forms of radon in weakly acidic aqueous solution (pH > 5), the procedure having previously been validated by examination of the homologous xenon trioxide.[23]

It is likely that the difficulty in identifying higher fluorides of radon stems from radon being kinetically hindered from being oxidised beyond the divalent state because of the strong ionicity of radon difluoride (RnF 2) and the high positive charge on radon in RnF+; spatial separation of RnF2 molecules may be necessary to clearly identify higher fluorides of radon, of which RnF 4 is expected to be more stable than RnF 6 due to spin–orbit splitting of the 6p shell of radon (RnIV would have a closed-shell 6s2 6p21/2 configuration). Therefore, while RnF 4 should have a similar stability to xenon tetrafluoride (XeF 4), RnF 6 would likely be much less stable than xenon hexafluoride (XeF 6): radon hexafluoride would also probably be a regular octahedral molecule, unlike the distorted octahedral structure of XeF 6, because of the inert pair effect.[25][26] Extrapolation down the noble gas group would suggest also the possible existence of RnO, RnO2, and RnOF4, as well as the first chemically stable noble gas chlorides RnCl2 and RnCl4, but none of these have yet been found.[18]

Radon carbonyl (RnCO) has been predicted to be stable and to have a linear molecular geometry.[27] The molecules Rn 2 and RnXe were found to be significantly stabilized by spin-orbit coupling.[28] Radon caged inside a fullerene has been proposed as a drug for tumors.[29][30] Despite the existence of Xe(VIII), no Rn(VIII) compounds have been claimed to exist; RnF8 should be highly unstable chemically (XeF8 is thermodynamically unstable). It is predicted that the most stable Rn(VIII) compound would be barium perradonate (Ba2RnO6), analogous to barium perxenate.[24] The instability of Rn(VIII) is due to the relativistic stabilization of the 6s shell, also known as the inert pair effect.[24]

Radon reacts with the liquid halogen fluorides ClF, ClF3, ClF5, BrF3, BrF5, and IF7 to form RnF2. In halogen fluoride solution, radon is nonvolatile and exists as the RnF+ and Rn2+ cations; addition of fluoride anions results in the formation of the complexes RnF3 and RnF2−4, paralleling the chemistry of beryllium(II) and aluminium(III).[18] The standard electrode potential of the Rn2+/Rn couple has been estimated as +2.0 V,[31] although there is no evidence for the formation of stable radon ions or compounds in aqueous solution.[18]

Isotopes

Uranium series
The radium or uranium series.

Radon has no stable isotopes. Thirty-nine radioactive isotopes have been characterized, with atomic masses ranging from 193 to 231.[32][33] The most stable isotope is 222Rn, which is a decay product of 226Ra, a decay product of 238U.[34] A trace amount of the (highly unstable) isotope 218Rn is also among the daughters of 222Rn.

Three other radon isotopes have a half-life of over an hour: 211Rn, 210Rn and 224Rn. The 220Rn isotope is a natural decay product of the most stable thorium isotope (232Th), and is commonly referred to as thoron. It has a half-life of 55.6 seconds and also emits alpha radiation. Similarly, 219Rn is derived from the most stable isotope of actinium (227Ac)—named "actinon"—and is an alpha emitter with a half-life of 3.96 seconds.[32] No radon isotopes occur significantly in the neptunium (237Np) decay series, though a trace amount of the (extremely unstable) isotope 217Rn is produced.

Daughters

222Rn belongs to the radium and uranium-238 decay chain, and has a half-life of 3.8235 days. Its four first products (excluding marginal decay schemes) are very short-lived, meaning that the corresponding disintegrations are indicative of the initial radon distribution. Its decay goes through the following sequence:[32]

  • 222Rn, 3.82 days, alpha decaying to...
  • 218Po, 3.10 minutes, alpha decaying to...
  • 214Pb, 26.8 minutes, beta decaying to...
  • 214Bi, 19.9 minutes, beta decaying to...
  • 214Po, 0.1643 ms, alpha decaying to...
  • 210Pb, which has a much longer half-life of 22.3 years, beta decaying to...
  • 210Bi, 5.013 days, beta decaying to...
  • 210Po, 138.376 days, alpha decaying to...
  • 206Pb, stable.

The radon equilibrium factor[35] is the ratio between the activity of all short-period radon progenies (which are responsible for most of radon's biological effects), and the activity that would be at equilibrium with the radon parent.

If a closed volume is constantly supplied with radon, the concentration of short-lived isotopes will increase until an equilibrium is reached where the rate of decay of each decay product will equal that of the radon itself. The equilibrium factor is 1 when both activities are equal, meaning that the decay products have stayed close to the radon parent long enough for the equilibrium to be reached, within a couple of hours. Under these conditions, each additional pCi/L of radon will increase exposure by 0.01 working level (WL, a measure of radioactivity commonly used in mining). These conditions are not always met; in many homes, the equilibrium factor is typically 40%; that is, there will be 0.004 WL of daughters for each pCi/L of radon in the air.[36] 210Pb takes much longer (decades) to come in equilibrium with radon, but, if the environment permits accumulation of dust over extended periods of time, 210Pb and its decay products may contribute to overall radiation levels as well.

Because of their electrostatic charge, radon progenies adhere to surfaces or dust particles, whereas gaseous radon does not. Attachment removes them from the air, usually causing the equilibrium factor in the atmosphere to be less than 1. The equilibrium factor is also lowered by air circulation or air filtration devices, and is increased by airborne dust particles, including cigarette smoke. The equilibrium factor found in epidemiological studies is 0.4.[37]

History and etymology

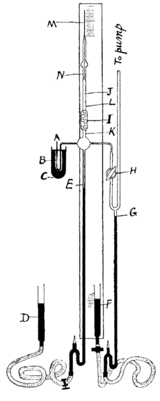
Apparatus used by Ramsay and Whytlaw-Gray to isolate radon. M is a capillary tube where approximately 0.1 mm3 were isolated. Radon mixed with hydrogen entered the evacuated system through siphon A; mercury is shown in black.

Radon was the fifth radioactive element to be discovered, in 1899 by Ernest Rutherford and Robert B. Owens,[38] after uranium, thorium, radium, and polonium.[39][40][41][42] In 1900, Friedrich Ernst Dorn reported some experiments in which he noticed that radium compounds emanate a radioactive gas he named 'Radium Emanation' ('Ra Em').[43] Before that, in 1899, Pierre and Marie Curie observed that the gas emitted by radium remained radioactive for a month.[44] Later that year, Robert B. Owens and Ernest Rutherford, at McGill University in Montreal, noticed variations when trying to measure radiation from thorium oxide.[45] Rutherford noticed that the compounds of thorium continuously emit a radioactive gas that retains the radioactive powers for several minutes, and called this gas 'emanation' (from Latin emanare—to elapse and emanatio—expiration),[46] and later 'Thorium Emanation' ('Th Em'). In 1901, Rutherford and Harriet Brooks demonstrated that the emanations are radioactive, but credited the Curies for the discovery of the element.[47] In 1903, similar emanations were observed from actinium by André-Louis Debierne,[48][49] and were called 'Actinium Emanation' ('Ac Em').

Several shortened names were soon suggested for the three emanations: exradio, exthorio, and exactinio in 1904;[50] radon (Ro), thoron (To), and akton or acton (Ao) in 1918;[51] radeon, thoreon, and actineon in 1919,[52] and eventually radon, thoron, and actinon in 1920.[53] (The name radon is not related to that of the Austrian mathematician Johann Radon.) The likeness of the spectra of these three gases with those of argon, krypton, and xenon, and their observed chemical inertia, led Sir William Ramsay to suggest in 1904 that the "emanations" might contain a new element of the noble gas family.[50]

In the early part of the 20th century in the US, gold contaminated with the radon daughter 210Pb entered the jewelry industry. This was from gold seeds that had held 222Rn that had been melted down after the radon had decayed.[54][55]

In 1909, Ramsay and Robert Whytlaw-Gray isolated radon, and determined its melting temperature and approximate density. In 1910, they determined that it was the heaviest known gas.[56] and wrote that "L'expression l'émanation du radium est fort incommode", (the expression 'radium emanation' is very awkward) and suggested the new name niton (Nt) (from the Latin nitens–shining) to emphasize the radioluminescence property,[57] and in 1912 it was accepted by the International Commission for Atomic Weights. In 1923, the International Committee for Chemical Elements and International Union of Pure and Applied Chemistry (IUPAC) chose among the names radon (Rn), thoron (Tn), and actinon (An). Later, when isotopes were numbered instead of named, the element took the name of the most stable isotope, radon, while Tn was renamed 220Rn and An was renamed 219Rn, which caused some confusion in the literature regarding the element's discovery as while Dorn had discovered radon the isotope, he had not been the first to discover radon the element. As late as the 1960s, the element was also referred to simply as emanation.[58] The first synthesized compound of radon, radon fluoride, was obtained in 1962.[59] Even today, the word radon may refer to either the element or its isotope 222Rn, with thoron remaining in use as a short name for 220Rn to stem this ambiguity.[60]

The danger of high exposure to radon in mines, where exposures can reach 1,000,000 Bq/m3, has long been known. In 1530, Paracelsus described a wasting disease of miners, the mala metallorum, and Georg Agricola recommended ventilation in mines to avoid this mountain sickness (Bergsucht).[61][62] In 1879, this condition was identified as lung cancer by Harting and Hesse in their investigation of miners from Schneeberg, Germany. The first major studies with radon and health occurred in the context of uranium mining in the Joachimsthal region of Bohemia.[63] In the US, studies and mitigation only followed decades of health effects on uranium miners of the Southwestern US employed during the early Cold War; standards were not implemented until 1971.[64]

The presence of radon in indoor air was documented as early as 1950. Beginning in the 1970s, research was initiated to address sources of indoor radon, determinants of concentration, health effects, and mitigation approaches. In the US, the problem of indoor radon received widespread publicity and intensified investigation after a widely publicized incident in 1984. During routine monitoring at a Pennsylvania nuclear power plant, a worker was found to be contaminated with radioactivity. A high concentration of radon in his home was subsequently identified as responsible.[65]

Occurrence

Concentration units

210Pb is formed from the decay of 222Rn. Here is a typical deposition rate of 210Pb as observed in Japan as a function of time, due to variations in radon concentration.[66]

All discussions of radon concentrations in the environment refer to 222Rn. While the average rate of production of 220Rn (from the thorium decay series) is about the same as that of 222Rn, the amount of 220Rn in the environment is much less than that of 222Rn because of the short half-life of 220Rn (55 seconds, versus 3.8 days respectively).[2]

Radon concentration in the atmosphere is usually measured in becquerel per cubic meter (Bq/m3), the SI derived unit. Another unit of measurement common in the US is picocuries per liter (pCi/L); 1 pCi/L=37 Bq/m3.[36] Typical domestic exposures average about 48 Bq/m3 indoors, though this varies widely, and 15 Bq/m3 outdoors.[67]

In the mining industry, the exposure is traditionally measured in working level (WL), and the cumulative exposure in working level month (WLM); 1 WL equals any combination of short-lived 222Rn daughters (218Po, 214Pb, 214Bi, and 214Po) in 1 liter of air that releases 1.3 × 105 MeV of potential alpha energy;[36] 1 WL is equivalent to 2.08 × 10−5 joules per cubic meter of air (J/m3).[2] The SI unit of cumulative exposure is expressed in joule-hours per cubic meter (J·h/m3). One WLM is equivalent to 3.6 × 10−3 J·h/m3. An exposure to 1 WL for 1 working-month (170 hours) equals 1 WLM cumulative exposure. A cumulative exposure of 1 WLM is roughly equivalent to living one year in an atmosphere with a radon concentration of 230 Bq/m3.[68]

222Rn decays to 210Pb and other radioisotopes. The levels of 210Pb can be measured. The rate of deposition of this radioisotope is weather-dependent.

Radon concentrations found in natural environments are much too low to be detected by chemical means. A 1,000 Bq/m3 (relatively high) concentration corresponds to 0.17 picogram per cubic meter (pg/m3). The average concentration of radon in the atmosphere is about 6×10-18 molar percent, or about 150 atoms in each milliliter of air.[69] The radon activity of the entire Earth's atmosphere originates from only a few tens of grams of radon, consistently replaced by decay of larger amounts of radium, thorium, and uranium.[70]

Natural

Radon concentration next to a uranium mine

Radon is produced by the radioactive decay of radium-226, which is found in uranium ores, phosphate rock, shales, igneous and metamorphic rocks such as granite, gneiss, and schist, and to a lesser degree, in common rocks such as limestone.[3][71] Every square mile of surface soil, to a depth of 6 inches (2.6 km2 to a depth of 15 cm), contains approximately 1 gram of radium, which releases radon in small amounts to the atmosphere.[2] On a global scale, it is estimated that 2.4 billion curies (90 EBq) of radon are released from soil annually.[72]

Radon concentration can differ widely from place to place. In the open air, it ranges from 1 to 100 Bq/m3, even less (0.1 Bq/m3) above the ocean. In caves or ventilated mines, or poorly ventilated houses, its concentration climbs to 20–2,000 Bq/m3.[73]

Radon concentration can be much higher in mining contexts. Ventilation regulations instruct to maintain radon concentration in uranium mines under the "working level", with 95th percentile levels ranging up to nearly 3 WL (546 pCi 222Rn per liter of air; 20.2 kBq/m3, measured from 1976 to 1985).[2] The concentration in the air at the (unventilated) Gastein Healing Gallery averages 43 kBq/m3 (1.2 nCi/L) with maximal value of 160 kBq/m3 (4.3 nCi/L).[74]

Radon mostly appears with the decay chain of the radium and uranium series (222Rn), and marginally with the thorium series (220Rn). The element emanates naturally from the ground, and some building materials, all over the world, wherever traces of uranium or thorium can be found, and particularly in regions with soils containing granite or shale, which have a higher concentration of uranium. Not all granitic regions are prone to high emissions of radon. Being a rare gas, it usually migrates freely through faults and fragmented soils, and may accumulate in caves or water. Owing to its very short half-life (four days for 222Rn), radon concentration decreases very quickly when the distance from the production area increases. Radon concentration varies greatly with season and atmospheric conditions. For instance, it has been shown to accumulate in the air if there is a meteorological inversion and little wind.[75]

High concentrations of radon can be found in some spring waters and hot springs.[76] The towns of Boulder, Montana; Misasa; Bad Kreuznach, Germany; and the country of Japan have radium-rich springs that emit radon. To be classified as a radon mineral water, radon concentration must be above 2 nCi/L (74 kBq/m3).[77] The activity of radon mineral water reaches 2,000 kBq/m3 in Merano and 4,000 kBq/m3 in Lurisia (Italy).[74]

Natural radon concentrations in the Earth's atmosphere are so low that radon-rich water in contact with the atmosphere will continually lose radon by volatilization. Hence, ground water has a higher concentration of 222Rn than surface water, because radon is continuously produced by radioactive decay of 226Ra present in rocks. Likewise, the saturated zone of a soil frequently has a higher radon content than the unsaturated zone because of diffusional losses to the atmosphere.[78][79]

In 1971, Apollo 15 passed 110 km (68 mi) above the Aristarchus plateau on the Moon, and detected a significant rise in alpha particles thought to be caused by the decay of 222Rn. The presence of 222Rn has been inferred later from data obtained from the Lunar Prospector alpha particle spectrometer.[80]

Radon is found in some petroleum. Because radon has a similar pressure and temperature curve to propane, and oil refineries separate petrochemicals based on their boiling points, the piping carrying freshly separated propane in oil refineries can become radioactive because of decaying radon and its products.[81]

Residues from the petroleum and natural gas industry often contain radium and its daughters. The sulfate scale from an oil well can be radium rich, while the water, oil, and gas from a well often contains radon. Radon decays to form solid radioisotopes that form coatings on the inside of pipework.[81]

Accumulation in buildings

Typical log-normal radon distribution in dwellings.
Predicted fraction of U.S. homes having concentrations of radon exceeding the EPA's recommended action level of 4 pCi/L

High concentrations of radon in homes were discovered by chance in 1985 after the stringent radiation testing conducted at a nuclear power plant entrance revealed that Stanley Watras, an engineer at the plant, was contaminated by radioactive substances.[82] Typical domestic exposures are of approximately 100 Bq/m3 (2.7 pCi/L) indoors. Some level of radon will be found in all buildings. Radon mostly enters a building directly from the soil through the lowest level in the building that is in contact with the ground. High levels of radon in the water supply can also increase indoor radon air levels. Typical entry points of radon into buildings are cracks in solid foundations and walls, construction joints, gaps in suspended floors and around service pipes, cavities inside walls, and the water supply.[8][83] Radon concentrations in the same location may differ by a factor of two over a period of one hour. Also, the concentration in one room of a building may be significantly different from the concentration in an adjoining room.[2] The soil characteristics of the dwellings are the most important source of radon for the ground floor and higher concentration of indoor radon observed on lower floors. Most of the high radon concentrations have been reported from places near fault zones; hence the existence of a relation between the exhalation rate from faults and indoor radon concentrations is obvious.[83]

The distribution of radon concentrations will generally differ from room to room, and the readings are averaged according to regulatory protocols. Indoor radon concentration is usually assumed to follow a lognormal distribution on a given territory.[84] Thus, the geometric mean is generally used for estimating the "average" radon concentration in an area.[85]

The mean concentration ranges from less than 10 Bq/m3 to over 100 Bq/m3 in some European countries.[86] Typical geometric standard deviations found in studies range between 2 and 3, meaning (given the 68–95–99.7 rule) that the radon concentration is expected to be more than a hundred times the mean concentration for 2 to 3% of the cases.

Some of the highest radon hazard in the US is found in Iowa and in the Appalachian Mountain areas in southeastern Pennsylvania.[87] Iowa has the highest average radon concentrations in the US due to significant glaciation that ground the granitic rocks from the Canadian Shield and deposited it as soils making up the rich Iowa farmland.[88] Many cities within the state, such as Iowa City, have passed requirements for radon-resistant construction in new homes. The second highest readings in Ireland were found in office buildings in the Irish town of Mallow, County Cork, prompting local fears regarding lung cancer.[89]

In a few locations, uranium tailings have been used for landfills and were subsequently built on, resulting in possible increased exposure to radon.[2]

Since radon is a colorless, odorless gas, the only way to know how much is present in the air or water is to perform tests. In the US, radon test kits are available to the public at retail stores, such as hardware stores, for home use, and testing is available through licensed professionals, who are often home inspectors. Efforts to reduce indoor radon levels are called radon mitigation. In the US, the EPA recommends all houses be tested for radon.

Industrial production

Radon is obtained as a by-product of uraniferous ores processing after transferring into 1% solutions of hydrochloric or hydrobromic acids. The gas mixture extracted from the solutions contains H 2, O 2, He, Rn, CO 2, H 2O and hydrocarbons. The mixture is purified by passing it over copper at 993 K (720 °C; 1،328 °F) to remove the H 2 and the O 2, and then KOH and P 2O 5 are used to remove the acids and moisture by sorption. Radon is condensed by liquid nitrogen and purified from residue gases by sublimation.[90]

Radon commercialization is regulated, but it is available in small quantities for the calibration of 222Rn measurement systems, at a price, in 2008, of almost US$6٬000 (معادل لـ $6٬477 في 2022) per milliliter of radium solution (which only contains about 15 picograms of actual radon at any given moment).[91] Radon is produced by a solution of radium-226 (half-life of 1,600 years). Radium-226 decays by alpha-particle emission, producing radon that collects over samples of radium-226 at a rate of about 1 mm3/day per gram of radium; equilibrium is quickly achieved and radon is produced in a steady flow, with an activity equal to that of the radium (50 Bq). Gaseous 222Rn (half-life of about four days) escapes from the capsule through diffusion.[92]

Concentration scale

Bq/m3 pCi/L Occurrence example
1 ~0.027 Radon concentration at the shores of large oceans is typically 1 Bq/m3.

Radon trace concentration above oceans or in Antarctica can be lower than 0.1 Bq/m3.

10 0.27 Mean continental concentration in the open air: 10 to 30 Bq/m3.

Based on a series of surveys, the global mean indoor radon concentration is estimated to be 39 Bq/m3.

100 2.7 Typical indoor domestic exposure. Most countries have adopted a radon concentration of 200–400 Bq/m3 for indoor air as an Action or Reference Level. If testing shows levels less than 4 picocuries radon per liter of air (150 Bq/m3), then no action is necessary. A cumulated exposure of 230 Bq/m3 of radon gas concentration during a period of 1 year corresponds to 1 WLM.
1,000 27 Very high radon concentrations (>1000 Bq/m3) have been found in houses built on soils with a high uranium content and/or high permeability of the ground. If levels are 20 picocuries radon per liter of air (800 Bq/m3) or higher, the home owner should consider some type of procedure to decrease indoor radon levels. Allowable concentrations in uranium mines are approximately 1,220 Bq/m3 (33 pCi/L)[93]
10,000 270

The concentration in the air at the (unventilated) Gastein Healing Gallery averages 43 kBq/m3 (about 1.2 nCi/L) with maximal value of 160 kBq/m3 (about 4.3 nCi/L).[74]

100,000 ~2700

About 100,000 Bq/m3 (2.7 nCi/L) was measured in Stanley Watras's basement.[94][95]

1,000,000 27000 Concentrations reaching 1,000,000 Bq/m3 can be found in unventilated uranium mines.
5.54 × 1019 ~1.5 × 1018 Theoretical upper limit: Radon gas (222Rn) at 100% concentration (1 atmosphere, 0 °C); 1.538×105 curies/gram;[96] 5.54×1019 Bq/m3.

Applications

Medical

An early-20th-century form of quackery was the treatment of maladies in a radiotorium.[97] It was a small, sealed room for patients to be exposed to radon for its "medicinal effects". The carcinogenic nature of radon due to its ionizing radiation became apparent later on. Radon's molecule-damaging radioactivity has been used to kill cancerous cells,[98] but it does not increase the health of healthy cells. The ionizing radiation causes the formation of free radicals, which results in cell damage, causing increased rates of illness, including cancer.

Exposure to radon has been suggested to mitigate autoimmune diseases, a process known as radiation hormesis, such as arthritis.[99][100] As a result, in the late 20th century and early 21st century, "health mines" established in Basin, Montana, attracted people seeking relief from health problems such as arthritis through limited exposure to radioactive mine water and radon. The practice is discouraged because of the well-documented ill effects of high-doses of radiation on the body.[101]

Radioactive water baths have been applied since 1906 in Jáchymov, Czech Republic, but even before radon discovery they were used in Bad Gastein, Austria. Radium-rich springs are also used in traditional Japanese onsen in Misasa, Tottori Prefecture. Drinking therapy is applied in Bad Brambach, Germany. Inhalation therapy is carried out in Gasteiner-Heilstollen, Austria, in Świeradów-Zdrój, Czerniawa-Zdrój, Kowary, Lądek Zdrój, Poland, in Harghita Băi, Romania, and in Boulder, Montana. In the US and Europe, there are several "radon spas", where people sit for minutes or hours in a high-radon atmosphere in the belief that low doses of radiation will invigorate or energize them.[100][102]

Radon has been produced commercially for use in radiation therapy, but for the most part has been replaced by radionuclides made in particle accelerators and nuclear reactors. Radon has been used in implantable seeds, made of gold or glass, primarily used to treat cancers, known as brachytherapy. The gold seeds were produced by filling a long tube with radon pumped from a radium source, the tube being then divided into short sections by crimping and cutting. The gold layer keeps the radon within, and filters out the alpha and beta radiations, while allowing the gamma rays to escape (which kill the diseased tissue). The activities might range from 0.05 to 5 millicuries per seed (2 to 200 MBq).[98] The gamma rays are produced by radon and the first short-lived elements of its decay chain (218Po, 214Pb, 214Bi, 214Po).

Radon and its first decay products being very short-lived, the seed is left in place. After 12 half-lives (43 days), radon radioactivity is at 1/2,000 of its original level. At this stage, the predominant residual activity originates from the radon decay product 210Pb, whose half-life (22.3 years) is 2,000 times that of radon (and whose activity is thus 1/2,000 of radon's), and its descendants 210Bi and 210Po.

Scientific

Radon emanation from the soil varies with soil type and with surface uranium content, so outdoor radon concentrations can be used to track air masses to a limited degree. This fact has been put to use by some atmospheric scientists. Because of radon's rapid loss to air and comparatively rapid decay, radon is used in hydrologic research that studies the interaction between groundwater and streams. Any significant concentration of radon in a stream is a good indicator that there are local inputs of groundwater.

Radon soil-concentration has been used in an experimental way to map buried close-subsurface geological faults because concentrations are generally higher over the faults.[103] Similarly, it has found some limited use in prospecting for geothermal gradients.[104]

Some researchers have investigated changes in groundwater radon concentrations for earthquake prediction.[105][106][107] Radon has a half-life of approximately 3.8 days, which means that it can be found only shortly after it has been produced in the radioactive decay chain. For this reason, it has been hypothesized that increases in radon concentration is due to the generation of new cracks underground, which would allow increased groundwater circulation, flushing out radon. The generation of new cracks might not unreasonably be assumed to precede major earthquakes. In the 1970s and 1980s, scientific measurements of radon emissions near faults found that earthquakes often occurred with no radon signal, and radon was often detected with no earthquake to follow. It was then dismissed by many as an unreliable indicator.[108] As of 2009, it was under investigation as a possible precursor by NASA.[109]

Radon is a known pollutant emitted from geothermal power stations because it is present in the material pumped from deep underground. It disperses rapidly, and no radiological hazard has been demonstrated in various investigations. In addition, typical systems re-inject the material deep underground rather than releasing it at the surface, so its environmental impact is minimal.[110]

In the 1940s and '50s, radon was used for industrial radiography.[111][112] Other X-ray sources, which became available after World War II, quickly replaced radon for this application, as they were lower in cost and had less hazard of alpha radiation.

Health risks

In mines

Radon-222 decay products have been classified by the International Agency for Research on Cancer as being carcinogenic to humans,[113] and as a gas that can be inhaled, lung cancer is a particular concern for people exposed to elevated levels of radon for sustained periods. During the 1940s and '50s, when safety standards requiring expensive ventilation in mines were not widely implemented,[114] radon exposure was linked to lung cancer among non-smoking miners of uranium and other hard rock materials in what is now the Czech Republic, and later among miners from the Southwestern US[115][116][117] and South Australia.[118] Despite these hazards being known in the early 1950s,[119] this occupational hazard remained poorly managed in many mines until the 1970s. During this period, several entrepreneurs opened former uranium mines in the US to the general public and advertised alleged health benefits from breathing radon gas underground. Health benefits claimed included pain, sinus, asthma and arthritis relief,[120][121] but these were proven to be false and the government banned such advertisements in 1975.[122]

Since that time, ventilation and other measures have been used to reduce radon levels in most affected mines that continue to operate. In recent years, the average annual exposure of uranium miners has fallen to levels similar to the concentrations inhaled in some homes. This has reduced the risk of occupationally induced cancer from radon, although health issues may persist for those who are currently employed in affected mines and for those who have been employed in them in the past.[123] As the relative risk for miners has decreased, so has the ability to detect excess risks among that population.[124]

Residues from processing of uranium ore can also be a source of radon. Radon resulting from the high radium content in uncovered dumps and tailing ponds can be easily released into the atmosphere and affect people living in the vicinity.[125]

In addition to lung cancer, researchers have theorized a possible increased risk of leukemia due to radon exposure. Empirical support from studies of the general population is inconsistent, and a study of uranium miners found a correlation between radon exposure and chronic lymphocytic leukemia.[126]

Miners (as well as milling and ore transportation workers) who worked in the uranium industry in the US between the 1940s and 1971 may be eligible for compensation under the Radiation Exposure Compensation Act (RECA). Surviving relatives may also apply in cases where the formerly employed person is deceased.

Domestic-level exposure

Radon exposure (mostly radon daughters) has been linked to lung cancer in numerous case-control studies performed in the US, Europe and China. There are approximately 21,000 deaths per year in the US due to radon-induced lung cancers.[5] One of the most comprehensive radon studies performed in the United States by Dr. R. William Field and colleagues found a 50% increased lung cancer risk even at the protracted exposures at the EPA's action level of 4 pCi/L. North American and European pooled analyses further support these findings.[127] However, the discussion about the opposite results is still continuing,[128][129][130] especially a recent retrospective case-control study of lung cancer risk which showed substantial cancer rate reduction for radon concentrations between 50 and 123 Bq/m3.[131]

Most models of residential radon exposure are based on studies of miners, and direct estimates of the risks posed to homeowners would be more desirable.[123] Because of the difficulties of measuring the risk of radon relative to smoking, models of their effect have often made use of them.

Radon has been considered the second leading cause of lung cancer and leading environmental cause of cancer mortality by the EPA.[132] Others have reached similar conclusions for the United Kingdom[123] and France.[133] Radon exposure in homes and offices may arise from certain subsurface rock formations, and also from certain building materials (e.g., some granites). The greatest risk of radon exposure arises in buildings that are airtight, insufficiently ventilated, and have foundation leaks that allow air from the soil into basements and dwelling rooms.

Action and reference level

WHO presented in 2009 a recommended reference level (the national reference level), 100 Bq/m3, for radon in dwellings. The recommendation also says that where this is not possible, 300 Bq/m3 should be selected as the highest level. A national reference level should not be a limit, but should represent the maximum acceptable annual average radon concentration in a dwelling.[134]

The actionable concentration of radon in a home varies depending on the organization doing the recommendation, for example, the EPA encourages that action be taken at concentrations as low as 74 Bq/m3 (2 pCi/L),[67] and the European Union recommends action be taken when concentrations reach 400 Bq/m3 (11 pCi/L) for old houses and 200 Bq/m3 (5 pCi/L) for new ones.[135] On 8 July 2010, the UK's Health Protection Agency issued new advice setting a "Target Level" of 100 Bq/m3 whilst retaining an "Action Level" of 200 Bq/m3.[136] The same levels (as UK) apply to Norway from 2010; in all new housings preventative measures should be taken against radon accumulation.

Inhalation and smoking

Results from epidemiological studies indicate that the risk of lung cancer increases with exposure to residential radon. A well-known example of source of error is smoking, the main risk factor for lung cancer. In the West, tobacco smoke is estimated to cause about 90% of all lung cancers.[بحاجة لمصدر]

According to the EPA, the risk of lung cancer for smokers is significant due to synergistic effects of radon and smoking. For this population about 62 people in a total of 1,000 will die of lung cancer compared to 7 people in a total of 1,000 for people who have never smoked.[5] It cannot be excluded that the risk of non-smokers should be primarily explained by a combination effect of radon and passive smoking.

Radon, like other known or suspected external risk factors for lung cancer, is a threat for smokers and former smokers. This was demonstrated by the European pooling study.[137] A commentary[137] to the pooling study stated: "it is not appropriate to talk simply of a risk from radon in homes. The risk is from smoking, compounded by a synergistic effect of radon for smokers. Without smoking, the effect seems to be so small as to be insignificant."

According to the European pooling study, there is a difference in risk for the histological subtypes of lung cancer and radon exposure. Small-cell lung carcinoma, which has a high correlation with smoking, have a higher risk after radon exposure. For other histological subtypes such as adenocarcinoma, the type that primarily affects non-smokers, the risk from radon appears to be lower.[137][138]

A study of radiation from post-mastectomy radiotherapy shows that the simple models previously used to assess the combined and separate risks from radiation and smoking need to be developed.[139] This is also supported by new discussion about the calculation method, the linear no-threshold model, which routinely has been used.[140]

A study from 2001, which included 436 non-smokers and a control group of 1649 non-smokers, showed that exposure to radon increased the risk of lung cancer in non-smokers. The group that had been exposed to tobacco smoke in the home appeared to have a much higher risk, while those who were not exposed to passive smoking did not show any increased risk with increasing radon exposure.[141]

Ingestion

The effects of radon if ingested are unknown, although studies have found that its biological half-life ranges from 30–70 minutes, with 90 percent removal at 100 minutes. In 1999, the US National Research Council investigated the issue of radon in drinking water. The risk associated with ingestion was considered almost negligible.[142] Water from underground sources may contain significant amounts of radon depending on the surrounding rock and soil conditions, whereas surface sources generally do not.[143]

As well as being ingested through drinking water, radon is also released from water when temperature is increased, pressure is decreased and when water is aerated. Optimum conditions for radon release and exposure occurred during showering. Water with a radon concentration of 104 pCi/L can increase the indoor airborne radon concentration by 1 pCi/L under normal conditions.[71]

Testing and mitigation

radon detector
A digital radon detector
A radon test kit

There are relatively simple tests for radon gas. In some countries these tests are methodically done in areas of known systematic hazards. Radon detection devices are commercially available. Digital radon detectors provide ongoing measurements giving both daily, weekly, short-term and long-term average readouts via a digital display. Short-term radon test devices used for initial screening purposes are inexpensive, in some cases free. There are important protocols for taking short-term radon tests and it is imperative that they be strictly followed. The kit includes a collector that the user hangs in the lowest habitable floor of the house for two to seven days. The user then sends the collector to a laboratory for analysis. Long term kits, taking collections for up to one year or more, are also available. An open-land test kit can test radon emissions from the land before construction begins.[5] Radon concentrations can vary daily, and accurate radon exposure estimates require long-term average radon measurements in the spaces where an individual spends a significant amount of time.[144]

Radon levels fluctuate naturally, due to factors like transient weather conditions, so an initial test might not be an accurate assessment of a home's average radon level. Radon levels are at a maximum during the coolest part of the day when pressure differentials are greatest.[71] Therefore, a high result (over 4 pCi/L) justifies repeating the test before undertaking more expensive abatement projects. Measurements between 4 and 10 pCi/L warrant a long term radon test. Measurements over 10 pCi/L warrant only another short term test so that abatement measures are not unduly delayed. Purchasers of real estate are advised to delay or decline a purchase if the seller has not successfully abated radon to 4 pCi/L or less.[5]

Because the half-life of radon is only 3.8 days, removing or isolating the source will greatly reduce the hazard within a few weeks. Another method of reducing radon levels is to modify the building's ventilation. Generally, the indoor radon concentrations increase as ventilation rates decrease.[2] In a well ventilated place, the radon concentration tends to align with outdoor values (typically 10 Bq/m3, ranging from 1 to 100 Bq/m3).[5]

The four principal ways of reducing the amount of radon accumulating in a house are:[5][145]

  • Sub-slab depressurization (soil suction) by increasing under-floor ventilation;
  • Improving the ventilation of the house and avoiding the transport of radon from the basement into living rooms;
  • Installing a radon sump system in the basement;
  • Installing a positive pressurization or positive supply ventilation system.

According to the EPA,[5] the method to reduce radon "...primarily used is a vent pipe system and fan, which pulls radon from beneath the house and vents it to the outside", which is also called sub-slab depressurization, active soil depressurization, or soil suction. Generally indoor radon can be mitigated by sub-slab depressurization and exhausting such radon-laden air to the outdoors, away from windows and other building openings. "[The] EPA generally recommends methods which prevent the entry of radon. Soil suction, for example, prevents radon from entering your home by drawing the radon from below the home and venting it through a pipe, or pipes, to the air above the home where it is quickly diluted" and the "EPA does not recommend the use of sealing alone to reduce radon because, by itself, sealing has not been shown to lower radon levels significantly or consistently".[146]

Positive-pressure ventilation systems can be combined with a heat exchanger to recover energy in the process of exchanging air with the outside, and simply exhausting basement air to the outside is not necessarily a viable solution as this can actually draw radon gas into a dwelling. Homes built on a crawl space may benefit from a radon collector installed under a "radon barrier" (a sheet of plastic that covers the crawl space).[5][147] For crawl spaces, the EPA states "An effective method to reduce radon levels in crawl space homes involves covering the earth floor with a high-density plastic sheet. A vent pipe and fan are used to draw the radon from under the sheet and vent it to the outdoors. This form of soil suction is called submembrane suction, and when properly applied is the most effective way to reduce radon levels in crawl space homes."[146]

See also


المصادر

  1. ^ Haynes, William M., ed. (2011). CRC Handbook of Chemistry and Physics (92nd ed.). Boca Raton, FL: CRC Press. p. 4.122. ISBN 1439855110.
  2. ^ أ ب ت ث ج ح خ د Toxicological profile for radon, Agency for Toxic Substances and Disease Registry, U.S. Public Health Service, In collaboration with U.S. Environmental Protection Agency, December 1990.
  3. ^ أ ب Kusky, Timothy M. (2003). Geological Hazards: A Sourcebook. Greenwood Press. pp. 236–239. ISBN 9781573564694.
  4. ^ "Facts about Radon". Facts about. Archived from the original on 2005-02-22. Retrieved 2008-09-07.
  5. ^ أ ب ت ث ج ح خ د ذ "A Citizen's Guide to Radon". www.epa.gov. United States Environmental Protection Agency. October 12, 2010. Retrieved January 29, 2012.
  6. ^ Dobrzynski, Ludwik; Fornalski, Krzysztof W.; Reszczyńska, Joanna (23 November 2017). "Meta-analysis of thirty-two case–control and two ecological radon studies of lung cancer". Journal of Radiation Research. 59 (2): 149–163. doi:10.1093/jrr/rrx061.
  7. ^ "Public Health Fact Sheet on Radon — Health and Human Services". Mass.Gov. Archived from the original on 2011-11-21. Retrieved 2011-12-04.
  8. ^ أ ب "A Citizen's Guide to Radon: The Guide to Protecting Yourself and Your Family from Radon". Epa.gov. 2016.
  9. ^ Williams, David R. (2007-04-19). "Earth Fact Sheet". NASA. Retrieved 2008-06-26.
  10. ^ "Radon". Jefferson Lab. Retrieved 2008-06-26.
  11. ^ Thomas, Jens (2002). Noble Gases. Marshall Cavendish. p. 13. ISBN 978-0-7614-1462-9.
  12. ^ أ ب Keller, Cornelius; Wolf, Walter; Shani, Jashovam. "Radionuclides, 2. Radioactive Elements and Artificial Radionuclides". Ullmann's Encyclopedia of Industrial Chemistry. Weinheim: Wiley-VCH. doi:10.1002/14356007.o22_o15. {{cite encyclopedia}}: Cite has empty unknown parameter: |authors= (help)
  13. ^ Bader, Richard F. W. "An Introduction to the Electronic Structure of Atoms and Molecules". McMaster University. Retrieved 2008-06-26.
  14. ^ David R. Lide (2003). "Section 10, Atomic, Molecular, and Optical Physics; Ionization Potentials of Atoms and Atomic Ions". CRC Handbook of Chemistry and Physics (84th ed.). Boca Raton, Florida: CRC Press.
  15. ^ Avrorin, V V; Krasikova, R. N.; Nefedov, V. D.; Toropova, M. A. (1982). "The Chemistry of Radon". Russian Chemical Reviews. 51 (1): 12. Bibcode:1982RuCRv..51...12A. doi:10.1070/RC1982v051n01ABEH002787.
  16. ^ Stein, L. (1970). "Ionic Radon Solution". Science. 168 (3929): 362–4. Bibcode:1970Sci...168..362S. doi:10.1126/science.168.3929.362. PMID 17809133.
  17. ^ Pitzer, Kenneth S. (1975). "Fluorides of radon and element 118". Chemical Communications. 44 (18): 760–1. Bibcode:2008ChCom..44.5292T. doi:10.1039/C3975000760b.
  18. ^ أ ب ت ث ج ح خ د Stein, Lawrence (1983). "The Chemistry of Radon". Radiochimica Acta. 32 (1–3): 163–171. doi:10.1524/ract.1983.32.13.163.
  19. ^ Meng- Sheng Liao; Qian- Er Zhang (1998). "Chemical Bonding in XeF2, XeF4, KrF2, KrF4, RnF2, XeCl2, and XeBr2: From the Gas Phase to the Solid State". The Journal of Physical Chemistry A. 102 (52): 10647. Bibcode:1998JPCA..10210647L. doi:10.1021/jp9825516.
  20. ^ Filatov, Michael; Cremer, Dieter (2003). "Bonding in radon hexafluoride: An unusual relativistic problem?". Physical Chemistry Chemical Physics. 5 (6): 1103. Bibcode:2003PCCP....5.1103F. doi:10.1039/b212460m.
  21. ^ Holloway, J (1986). "Noble-gas fluorides". Journal of Fluorine Chemistry. 33 (1–4): 149. doi:10.1016/S0022-1139(00)85275-6.
  22. ^ Avrorin, V. V.; Krasikova, R. N.; Nefedov, V. D.; Toropova, M. A. (1982). "The Chemistry of Radon". Russian Chemical Reviews. 51 (1): 12. Bibcode:1982RuCRv..51...12A. doi:10.1070/RC1982v051n01ABEH002787.
  23. ^ أ ب ت ث Sykes, A. G. (1998). "Recent Advances in Noble-Gas Chemistry". Advances in Inorganic Chemistry. Vol. 46. Academic Press. pp. 91–93. ISBN 978-0120236466. Retrieved 2012-11-02.
  24. ^ أ ب ت Thayer, John S. (2010). "Relativistic Effects and the Chemistry of the Heavier Main Group Elements". Relativistic Methods for Chemists. p. 80. doi:10.1007/978-1-4020-9975-5_2. ISBN 978-1-4020-9974-8.
  25. ^ Liebman, Joel F. (1975). "Conceptual Problems in Noble Gas and Fluorine Chemistry, II: The Nonexistence of Radon Tetrafluoride". Inorg. Nucl. Chem. Lett. 11 (10): 683–685. doi:10.1016/0020-1650(75)80185-1.
  26. ^ Seppelt, Konrad (2015). "Molecular Hexafluorides". Chemical Reviews. 115 (2): 1296–1306. doi:10.1021/cr5001783.
  27. ^ Malli, Gulzari L. (2002). "Prediction of the existence of radon carbonyl: RnCO". International Journal of Quantum Chemistry. 90 (2): 611. doi:10.1002/qua.963.
  28. ^ Runeberg, Nino; Pyykkö, Pekka (1998). "Relativistic pseudopotential calculations on Xe2, RnXe, and Rn2: The van der Waals properties of radon". International Journal of Quantum Chemistry. 66 (2): 131. doi:10.1002/(SICI)1097-461X(1998)66:2<131::AID-QUA4>3.0.CO;2-W.
  29. ^ Browne, Malcolm W. (1993-03-05). "Chemists Find Way to Make An 'Impossible' Compound". The New York Times. Retrieved 2009-01-30.
  30. ^ Dolg, M.; Küchle, W.; Stoll, H.; Preuss, H.; Schwerdtfeger, P. (1991-12-20). "Ab initio pseudopotentials for Hg to Rn: II. Molecular calculations on the hydrides of Hg to At and the fluorides of Rn". Molecular Physics (in الإنجليزية). 74 (6): 1265–1285. doi:10.1080/00268979100102951. ISSN 0026-8976.
  31. ^ Bratsch, Steven G. (29 July 1988). "Standard Electrode Potentials and Temperature Coefficients in Water at 298.15 K". Journal of Physical and Chemical Reference Data. 18 (1): 1–21. Bibcode:1989JPCRD..18....1B. doi:10.1063/1.555839.
  32. ^ أ ب ت Sonzogni, Alejandro. "Interactive Chart of Nuclides". National Nuclear Data Center: Brookhaven National Laboratory. Retrieved 2008-06-06.
  33. ^ Neidherr, D.; Audi, G.; Beck, D.; Baum, K.; Böhm, Ch.; Breitenfeldt, M.; Cakirli, R. B.; Casten, R. F.; George, S.; Herfurth, F.; Herlert, A.; Kellerbauer, A.; Kowalska, M.; Lunney, D.; Minaya-Ramirez, E.; Naimi, S.; Noah, E.; Penescu, L.; Rosenbusch, M.; Schwarz, S.; Schweikhard, L.; Stora, T. (19 March 2009). "Discovery of 229Rn and the Structure of the Heaviest Rn and Ra Isotopes from Penning-Trap Mass Measurements" (PDF). Physical Review Letters. 102 (11): 112501–1–112501–5. Bibcode:2009PhRvL.102k2501N. doi:10.1103/PhysRevLett.102.112501. PMID 19392194.
  34. ^ "Principal Decay Scheme of the Uranium Series". Gulflink.osd.mil. Archived from the original on 2008-10-25. Retrieved 2008-09-12.
  35. ^ "Why Measure RDPs?". Archived from the original on 2015-02-25. Retrieved 2009-07-07.
  36. ^ أ ب ت "EPA Assessment of Risks from Radon in Homes" (PDF). Office of Radiation and Indoor Air, US Environmental Protection Agency. June 2003. Archived from the original (PDF) on 2008-02-27.
  37. ^ Health effects of exposure to radon, Volume 6 of BEIR (Series). National Academies Press. 1999. p. 179. ISBN 978-0-309-05645-8.
  38. ^ Dorn, F. E. (1900). "Die von radioactiven Substanzen ausgesandte Emanation" (PDF). Abhandlungen der Naturforschenden Gesellschaft zu Halle. 23: 1–15.
  39. ^ Partington, J. R. (1957). "Discovery of Radon". Nature. 179 (4566): 912. Bibcode:1957Natur.179..912P. doi:10.1038/179912a0.
  40. ^ "Timeline of Element Discovery". The New York Times Company. 2008. Retrieved 2008-02-28.
  41. ^ Schüttmann, W. (1988). "Zur Entdeckungsgeschichte des Radons". Isotopenpraxis Isotopes in Environmental and Health Studies. 24 (4): 158. doi:10.1080/10256018808623931.
  42. ^ Brenner, David J. (2000). "Rutherford, the Curies, and Radon". Medical Physics. 27 (3): 618. Bibcode:2000MedPh..27..618B. doi:10.1118/1.598902. PMID 10757614.
  43. ^ Dorn, Friedrich Ernst (1900). "Über die von radioaktiven Substanzen ausgesandte Emanation" (PDF). Abhandlungen der Naturforschenden Gesellschaft zu Halle. Stuttgart. 22: 155.
  44. ^ Curie, P.; Curie, Mme. Marie (1899). "Sur la radioactivite provoquee par les rayons de Becquerel". Comptes Rendus Hebdomadaires des Séances de l'Académie des Sciences. 129: 714–6. {{cite journal}}: Italic or bold markup not allowed in: |journal= (help)
  45. ^ Rutherford, E.; Owens, R. B. (1899). "Thorium and uranium radiation". Trans. R. Soc. Can. 2: 9–12.: "The radiation from thorium oxide was not constant, but varied in a most capricious manner", whereas "All the compounds of Uranium give out a radiation which is remarkably constant."
  46. ^ Rutherford, E. (1900). "A radioactive substance emitted from thorium compounds". Phil. Mag. 40: 1–4.
  47. ^ Rutherford, E.; Brooks, H.T. (1901). "The new gas from radium". Trans. R. Soc. Can. 7: 21–5.
  48. ^ Giesel, Fritz (1903). "Über den Emanationskörper aus Pechblende und über Radium". Chemische Berichte. 36: 342. doi:10.1002/cber.19030360177.
  49. ^ Debierne, André-Louis (1903). "Sur la radioactivite induite provoquee par les sels d'actinium". Comptes Rendus Hebdomadaires des Séances de l'Académie des Sciences. 136: 446. {{cite journal}}: Italic or bold markup not allowed in: |journal= (help)
  50. ^ أ ب Ramsay, Sir William; Collie, J. Norman (1904). "The Spectrum of the Radium Emanation". Proceedings of the Royal Society. 73 (488–496): 470–6. doi:10.1098/rspl.1904.0064.
  51. ^ Schmidt, Curt (1918). "Periodisches System und Genesis der Elemente". Zeitschrift für anorganische und allgemeine Chemie. 103: 79–118. doi:10.1002/zaac.19181030106.
  52. ^ Perrin, Jean (1919). "Matière et lumière. Essai de synthèse de la mécanique chimique". Annales de Physique. IX. 11: 5–108.
  53. ^ Adams, Elliot Quincy (1920). "The Independent Origin of Actinium". Journal of the American Chemical Society. 42 (11): 2205. doi:10.1021/ja01456a010.
  54. ^ "Poster Issued by the New York Department of Health (ca. 1981)". Oak Ridge Associated Universities. 2007-07-25. Retrieved 2008-06-26.
  55. ^ "Rings and Cancer". Time. 1968-09-13. Retrieved 2009-05-05.
  56. ^ R. W. Gray; W. Ramsay (1909). "Some Physical Properties of Radium Emanation". J. Chem. Soc. Trans. 1909: 1073–1085.
  57. ^ Ramsay, W.; Gray, R. W. (1910). "La densité de l'emanation du radium". Comptes Rendus Hebdomadaires des Séances de l'Académie des Sciences. 151: 126–8.
  58. ^ Grosse, A. V. (1965). "Some physical and chemical properties of element 118 (Eka-Em) and element 86 (Em)". Journal of Inorganic and Nuclear Chemistry. 27 (3): 509. doi:10.1016/0022-1902(65)80255-X.
  59. ^ Fields, Paul R.; Stein, Lawrence; Zirin, Moshe H. (1962). "Radon Fluoride". J. Am. Chem. Soc. 84 (21): 4164. doi:10.1021/ja00880a048.
  60. ^ Thornton, Brett F.; Burdette, Shawn C. (22 August 2013). "Recalling radon's recognition". Nature Chemistry. 5 (9): 804. Bibcode:2013NatCh...5..804T. doi:10.1038/nchem.1731. PMID 23965684.
  61. ^ Masse, Roland (2002) Le radon, aspects historiques et perception du risque. radon-france.com
  62. ^ Radon Toxicity: Who is at Risk?, Agency for Toxic Substances and Disease Registry, 2000.
  63. ^ Proctor, Robert N. The Nazi War on Cancer. Princeton University Press, 2000 p. 99 ISBN 0691070512.
  64. ^ Edelstein, Michael R., William J. Makofske. Radon's deadly daughters: science, environmental policy, and the politics of risk. Rowman & Littlefield, 1998, pp. 36–39 ISBN 0847683346.
  65. ^ Samet, J. M. (1992). "Indoor radon and lung cancer. Estimating the risks". The Western Journal of Medicine. 156 (1): 25–9. PMC 1003141. PMID 1734594.
  66. ^ Yamamoto, M.; Sakaguchi, A.; Sasaki, K.; Hirose, K.; Igarashi, Y.; Kim, C. (2006). "Radon". Journal of Environmental Radioactivity. 86 (1): 110–31. doi:10.1016/j.jenvrad.2005.08.001. PMID 16181712.
  67. ^ أ ب "Radiation Protection: Radon". United States Environmental Protection Agency. November 2007. Retrieved 2008-04-17.
  68. ^ Radon (Rn). CEA. 12 April 2005. (in French)
  69. ^ "Health hazard data" (PDF). The Linde Group. Archived from the original (PDF) on 2013-06-25.
  70. ^ "Le Radon. Un gaz radioactif naturel". Retrieved 2009-07-07.
  71. ^ أ ب ت Godish, Thad (2001). Indoor Environmental Quality. CRC Press. ISBN 978-1-56670-402-1.
  72. ^ Harley, J. H. in Richard Edward Stanley; A. Alan Moghissi (1975). Noble Gases. U.S. Environmental Protection Agency. p. 111.
  73. ^ Sperrin, Malcolm; Gillmore, Gavin; Denman, Tony (2001). "Radon concentration variations in a Mendip cave cluster". Environmental Management and Health. 12 (5): 476. doi:10.1108/09566160110404881.
  74. ^ أ ب ت Zdrojewicz, Zygmunt; Strzelczyk, Jadwiga (Jodi) (2006). "Radon Treatment Controversy, Dose Response". Dose-Response. 4 (2): 106–18. doi:10.2203/dose-response.05-025.Zdrojewicz. PMC 2477672. PMID 18648641.
  75. ^ Steck, Daniel J.; Field, R. William; Lynch, Charles F. (1999). "Exposure to Atmospheric Radon". Environmental Health Perspectives. 107 (2): 123–127. doi:10.2307/3434368. JSTOR 3434368. PMC 1566320. PMID 9924007.
  76. ^ Field, R. William. "Radon Occurrence and Health Risk" (PDF). Department of Occupational and Environmental Health, University of Iowa. Archived from the original (PDF) on 2006-03-16. Retrieved 2008-02-02.
  77. ^ "The Clinical Principles Of Balneology & Physical Medicine". Archived from the original on May 8, 2008. Retrieved 2009-07-07.
  78. ^ "The Geology of Radon". United States Geological Survey. Retrieved 2008-06-28.
  79. ^ "Radon-222 as a tracer in groundwater-surface water interactions" (PDF). Lancaster University. Retrieved 2008-06-28.
  80. ^ Lawson, S.; Feldman, W.; Lawrence, D.; Moore, K.; Elphic, R.; Belian, R. (2005). "Recent outgassing from the lunar surface: the Lunar Prospector alpha particle spectrometer". J. Geophys. Res. 110: 1029. Bibcode:2005JGRE..11009009L. doi:10.1029/2005JE002433.
  81. ^ أ ب "Potential for Elevated Radiation Levels In Propane" (PDF). National Energy Board. April 1994. Retrieved 2009-07-07.
  82. ^ Roaf, Susan; Fuentes, Manuel; Thomas, Stephanie (2007). Ecohouse: A Design Guide. Elsevier. p. 159. ISBN 978-0-7506-6903-0. {{cite book}}: Unknown parameter |last-author-amp= ignored (|name-list-style= suggested) (help)
  83. ^ أ ب Fahiminia, M.; Fouladi Fard, Reza; Ardani, R.; Naddafi, K.; et al. (2016). "Indoor radon measurements in residential dwellings in Qom, Iran". Fluoride. 14 (4): 331–339. doi:10.18869/acadpub.ijrr.14.4.331.
  84. ^ Numerous references, see for instance Analysis And Modelling Of Indoor Radon Distributions Using Extreme Values Theory or Indoor Radon in Hungary (Lognormal Mysticism) for a discussion.
  85. ^ "Data Collection and Statistical Computations". Retrieved 2009-07-07.
  86. ^ Annex E: Sources to effects assessment for radon in homes and workplaces, 2, United Nations, 2008, pp. 209–10, http://www.unscear.org/docs/reports/2006/09-81160_Report_Annex_E_2006_Web.pdf, retrieved on 17 August 2013 
  87. ^ Price, Phillip N.; Nero, A.; Revzan, K.; Apte, M.; Gelman, A.; Boscardin, W. John. "Predicted County Median Concentration". Lawrence Berkeley National Laboratory. Archived from the original on 2007-12-31. Retrieved 2008-02-12.
  88. ^ Field, R. William. "The Iowa Radon Lung Cancer Study". Department of Occupational and Environmental Health, University of Iowa. Archived from the original on 1997-07-11. Retrieved 2008-02-22.
  89. ^ "Record radon levels found at Mallow office". RTE.ie (in الإنجليزية). 2007-09-20. Retrieved 2018-09-09.
  90. ^ "Radon Production". Rn-radon.info. 2007-07-24. Archived from the original on 2008-10-28. Retrieved 2009-01-30.
  91. ^ "SRM 4972 – Radon-222 Emanation Standard". National Institute of Standards and Technology. Retrieved 2008-06-26.
  92. ^ Collé, R.; R. Kishore (1997). "An update on the NIST radon-in-water standard generator: its performance efficacy and long-term stability". Nucl. Instrum. Methods Phys. Res. A. 391 (3): 511–528. Bibcode:1997NIMPA.391..511C. doi:10.1016/S0168-9002(97)00572-X. {{cite journal}}: Unknown parameter |last-author-amp= ignored (|name-list-style= suggested) (help)
  93. ^ The Mining Safety and Health Act – 30 CFR 57.0. United States Government. 1977. Archived from the original on 2014-08-05. Retrieved 2014-07-30.
  94. ^ (September 27–30, 1995) "Indoor Radon Concentration Data: Its Geographic and Geologic Distribution, an Example from the Capital District, NY" in International Radon Symposium., Nashville, TN: American Association of Radon Scientists and Technologists. Retrieved on 2012-11-28. 
  95. ^ Upfal, Mark J.; Johnson, Christine (2003). "65 Residential Radon" (PDF). In Greenberg, Michael I.; Hamilton, Richard J.; Phillips, Scott D.; N.N., Gayla J. (eds.). Occupational, industrial, and environmental toxicology (2nd ed.). St Louis, Missouri: Mosby. ISBN 9780323013406. Archived from the original (PDF) on 2013-05-14. Retrieved 28 November 2012.
  96. ^ Toxicological Profile for Radon, Table 4-2 (Keith S, Doyle JR, Harper C, et al. Toxicological Profile for Radon. Atlanta (GA): Agency for Toxic Substances and Disease Registry (US); 2012 May. 4, CHEMICAL, PHYSICAL, AND RADIOLOGICAL INFORMATION.) Retrieved 2015-06-06
  97. ^ The Clinique, Volume 34. Illinois Homeopathic Medical Association. 1913. Retrieved 2011-06-30.
  98. ^ أ ب "Radon seeds". Retrieved 2009-05-05.
  99. ^ "Radon Health Mines: Boulder and Basin, Montana". Roadside America. Retrieved 2007-12-04.
  100. ^ أ ب Neda, T; et al. (2008). "Radon concentration levels in dry CO2 emanations from Harghita Băi, Romania, used for curative purposes". Journal of Radioanalytical and Nuclear Chemistry. 277 (3): 685. doi:10.1007/s10967-007-7169-0.
  101. ^ Salak, Kara; Nordeman, Landon (2004). "59631: Mining for Miracles". National Geographic. Retrieved 2008-06-26.
  102. ^ "Jáchymov". Petros. Archived from the original on January 7, 2002. Retrieved 2008-06-26.
  103. ^ Richon, P.; Y. Klinger; P. Tapponnier; C.-X. Li; J. Van Der Woerd; F. Perrier (2010). "Measuring radon flux across active faults: Relevance of excavating and possibility of satellite discharges" (PDF). Radiat. Meas. 45 (2): 211–218. Bibcode:2010RadM...45..211R. doi:10.1016/j.radmeas.2010.01.019. {{cite journal}}: Unknown parameter |last-author-amp= ignored (|name-list-style= suggested) (help)
  104. ^ Semprini, Lewis (April 1980). "Radon Transect Analysis In Geothermal Reservoirs" in SPE California Regional Meeting, 9–11 April, Los Angeles, California.. doi:10.2118/8890-MS. 
  105. ^ Igarashi, G.; Wakita, H. (1995). "Geochemical and hydrological observations for earthquake prediction in Japan". Journal of Physics of the Earth. 43 (5): 585–598. doi:10.4294/jpe1952.43.585. {{cite journal}}: Unknown parameter |last-author-amp= ignored (|name-list-style= suggested) (help)
  106. ^ Wakita, H., (1996). Earthquake chemistry II, collected papers, edn, Vol. II, Laboratory for Earthquake Chemistry, Faculty of Science, University of Tokyo, Japan
  107. ^ Richon, P.; Sabroux, J.-C.; Halbwachs, M.; Vandemeulebrouck, J.; Poussielgue, N.; Tabbagh, J.; Punongbayan, R. (2003). "Radon anomaly in the soil of Taal volcano, the Philippines: A likely precursor of the M 7.1 Mindoro earthquake (1994)". Geophysical Research Letters. 30 (9): 34. Bibcode:2003GeoRL..30.1481R. doi:10.1029/2003GL016902.
  108. ^ "Expert: Earthquakes Hard To Predict". Retrieved 2009-05-05.
  109. ^ "EARTH Magazine: Earthquake prediction: Gone and back again". 2012-01-05.
  110. ^ "Radon and Naturally Occurring Radioactive Materials (NORM) associated with Hot Rock Geothermal Systems" (PDF). Government of South Australia—Primary Industries and Resources SA. Archived from the original (PDF) on 2012-04-02. Retrieved 2013-07-16.
  111. ^ Dawson, J A T (1946). "Radon. Its Properties and Preparation for Industrial Radiography". Journal of Scientific Instruments. 23 (7): 138. Bibcode:1946JScI...23..138D. doi:10.1088/0950-7671/23/7/301.
  112. ^ Morrison, A. (1945). "Use of radon for industrial radiography". Canadian Journal of Research. 23f (6): 413–419. doi:10.1139/cjr45f-044.
  113. ^ "Known and Probable Carcinogens". American Cancer Society. Archived from the original on 2003-12-13. Retrieved 2008-06-26.
  114. ^ Mould, Richard Francis (1993). A Century of X-rays and Radioactivity in Medicine. CRC Press. ISBN 978-0-7503-0224-1.
  115. ^ "Uranium Miners' Cancer". Time. 1960-12-26. ISSN 0040-781X. Retrieved 2008-06-26.
  116. ^ Tirmarche M; Laurier D; Mitton N; Gelas JM. "Lung Cancer Risk Associated with Low Chronic Radon Exposure: Results from the French Uranium Miners Cohort and the European Project" (PDF). Retrieved 2009-07-07. {{cite news}}: Unknown parameter |last-author-amp= ignored (|name-list-style= suggested) (help)
  117. ^ Roscoe, R. J.; Steenland, K.; Halperin, W. E.; Beaumont, J. J.; Waxweiler, R. J. (1989-08-04). "Lung cancer mortality among nonsmoking uranium miners exposed to radon daughters". Journal of the American Medical Association. 262 (5): 629–33. doi:10.1001/jama.1989.03430050045024. PMID 2746814.
  118. ^ Woodward, Alistair; Roder, David; McMichael, Anthony J.; Crouch, Philip; Mylvaganam, Arul (1991-07-01). "Radon Daughter Exposures at the Radium Hill Uranium Mine and Lung Cancer Rates among Former Workers, 1952–87". Cancer Causes & Control. 2 (4): 213–220. doi:10.1007/BF00052136. JSTOR 3553403.
  119. ^ "Uranium mine radon gas proves health danger (1952) - on Newspapers.com". Newspapers.com. Retrieved 2015-12-22.
  120. ^ "Radon gas mine health benefits advertisement (1953) - on Newspapers.com". Newspapers.com. Retrieved 2015-12-22.
  121. ^ "Clipping from The Montana Standard on Newspapers.com". Newspapers.com. Retrieved 2015-12-22.
  122. ^ "Government bans Boulder mine ads about radon health benefits (1975) - on Newspapers.com". Newspapers.com. Retrieved 2015-12-22.
  123. ^ أ ب ت Darby, S; Hill, D; Doll, R (2005). "Radon: a likely carcinogen at all exposures". Annals of Oncology. 12 (10): 1341–51. doi:10.1023/A:1012518223463. PMID 11762803.
  124. ^ "UNSCEAR 2006 Report Vol. I". United Nations Scientific Committee on the Effects of Atomic Radiation UNSCEAR 2006 Report to the General Assembly, with scientific annexes.
  125. ^ Schläger, M.; Murtazaev, K.; Rakhmatuloev, B.; Zoriy, P.; Heuel-Fabianek, B. (2016). "Radon exhalation of the uranium tailings dump Digmai, Tajikistan" (PDF). Radiation and Applications. 1: 222–228. doi:10.21175/RadJ.2016.03.041.
  126. ^ Rericha, V.; Kulich, M.; Rericha, R.; Shore, D. L.; Sandler, D. P. (2007). "Incidence of leukemia, lymphoma, and multiple myeloma in Czech uranium miners: a case-cohort study". Environmental Health Perspectives. 114 (6): 818–22. doi:10.1289/ehp.8476. PMC 1480508. PMID 16759978.
  127. ^ Reducing Environmental Cancer Risk – What We Can Do Now. US Department of Health and Human Services. 2008–2009 Annual Report
  128. ^ Fornalski, K. W.; Adams, R.; Allison, W.; Corrice, L. E.; Cuttler, J. M.; Davey, Ch.; Dobrzyński, L.; Esposito, V. J.; Feinendegen, L. E.; Gomez, L. S.; Lewis, P.; Mahn, J.; Miller, M. L.; Pennington, Ch. W.; Sacks, B.; Sutou, S.; Welsh, J. S. (2015). "The assumption of radon-induced cancer risk". Cancer Causes & Control. 10 (26): 1517–18. doi:10.1007/s10552-015-0638-9. PMID 26223888.
  129. ^ Becker, K. (2003). "Health Effects of High Radon Environments in Central Europe: Another Test for the LNT Hypothesis?". Nonlinearity in Biology, Toxicology and Medicine. 1 (1): 3–35. doi:10.1080/15401420390844447. PMC 2651614. PMID 19330110.
  130. ^ Cohen BL (1995). "Test of the linear-no threshold theory of radiation carcinogenesis for inhaled radon decay products" (PDF). Health Physics. 68 (2): 157–74. doi:10.1097/00004032-199502000-00002. PMID 7814250.
  131. ^ Thompson, Richard E.; Nelson, Donald F.; Popkin, Joel H.; Popkin, Zenaida (2008). "Case-Control Study of Lung Cancer Risk from Residential Radon Exposure in Worcester County, Massachusetts". Health Physics. 94 (3): 228–41. doi:10.1097/01.HP.0000288561.53790.5f. PMID 18301096.
  132. ^ "Health Risks". EPA. Retrieved 2008-06-26.
  133. ^ Catelinois O; Rogel A; Laurier D; Billon, Solenne; Hemon, Denis; Verger, Pierre; Tirmarche, Margot (2006). "Lung cancer attributable to indoor radon exposure in france: impact of the risk models and uncertainty analysis". Environmental Health Perspectives. 114 (9): 1361–6. doi:10.1289/ehp.9070. PMC 1570096. PMID 16966089.
  134. ^ WHO Handbook on Indoor Radon. World Health Organization
  135. ^ "Radon Levels in Dwellings: Fact Sheet 4.6" (PDF). European Environment and Health Information System. December 2009. Retrieved 2013-07-16.
  136. ^ "HPA issues new advice on radon". UK Health Protection Agency. July 2010. Archived from the original on 2010-07-14. Retrieved 2010-08-13.
  137. ^ أ ب ت Darby, S; Hill, D; Auvinen, A; Barros-Dios, J M; Baysson, H; Bochicchio, F; Deo, H; Falk, R; Forastiere, F; Hakama, M; Heid, I; Kreienbrock, L; Kreuzer, M; Lagarde, F; Mäkeläinen, I; Muirhead, C; Oberaigner, W; Pershagen, G; Ruano-Ravina, A; Ruosteenoja, E; Rosario, A Schaffrath; Tirmarche, M; Tomáscaron;ek, L; Whitley, E; Wichmann, H-E; Doll, R (2005). "Radon in homes and risk of lung cancer: Collaborative analysis of individual data from 13 European case-control studies". BMJ. 330 (7485): 223. doi:10.1136/bmj.38308.477650.63. PMC 546066. PMID 15613366.{{cite journal}}: CS1 maint: multiple names: authors list (link)
  138. ^ Field, R. William (December 4, 2008). "President's Cancer Panel, Environmental Factors in Cancer: Radon" (PDF). Charleston, South Carolina: The American Association of Radon Scientists and Technologists (AARST). Archived from the original (PDF) on August 29, 2013.
  139. ^ Kaufman, E. L.; Jacobson, J. S.; Hershman, D. L.; Desai, M.; Neugut, A. I. (2008). "Effect of breast cancer radiotherapy and cigarette smoking on risk of second primary lung cancer". Journal of Clinical Oncology. 26 (3): 392–8. doi:10.1200/JCO.2007.13.3033. PMID 18202415.
  140. ^ Dauer, L. T.; Brooks, A. L.; Hoel, D. G.; Morgan, W. F.; Stram, D.; Tran, P. (2010). "Review and evaluation of updated research on the health effects associated with low-dose ionising radiation". Radiation Protection Dosimetry. 140 (2): 103–36. doi:10.1093/rpd/ncq141. PMID 20413418.
  141. ^ Lagarde, F.; Axelsson, G.; Damber, L.; Mellander, H.; Nyberg, F.; Pershagen, G. (2001). "Residential radon and lung cancer among never-smokers in Sweden". Epidemiology. 12 (4): 396–404. doi:10.1097/00001648-200107000-00009. JSTOR 3703373. PMID 11416777.
  142. ^ Risk Assessment of Radon in Drinking Water. Nap.edu (2003-06-01). Retrieved on 2011-08-20.
  143. ^ "Basic Information about Radon in Drinking Water". Retrieved 2013-07-24.
  144. ^ Baes, Fred. "Answer to Question #10299 Submitted to "Ask the Experts"". Health Physics Society. Retrieved 2016-05-19.
  145. ^ World Health Organization. "Radon and cancer, fact sheet 291".
  146. ^ أ ب "Consumer's Guide to Radon Reduction: How to fix your home". EPA. Retrieved 2010-04-03.
  147. ^ Building radon out a stepbystep guide on how to build radonresistant homes. DIANE Publishing. p. 46. ISBN 978-1-4289-0070-7.

وصلات خارجية

Wikiversity
At Wikiversity, you can learn about: Radon atom