نزف فوق الجافية
نزف فوق الجافية | |
---|---|
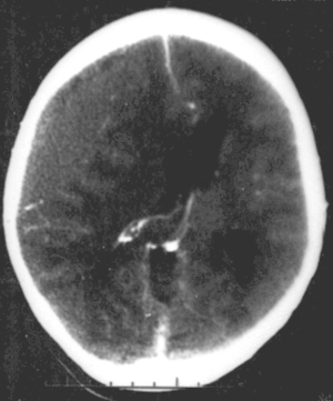
![]() | |
Nontraumatic epidural hematoma in a young woman. The grey area in the top left is organizing hematoma, causing midline shift and compression of the ventricle. | |
التبويب والمصادر الخارجية | |
التخصص | طب الطوارئ |
ICD-10 | I62.1, S06.4 |
ICD-9-CM | 432.0 |
DiseasesDB | 4353 |
MedlinePlus | 001412 |
eMedicine | emerg/167 med/2898 neuro/574 |
Patient UK | فشل عرض الخاصية P1461: لم يتم العثور على الخاصية P1461. نزف فوق الجافية |
MeSH | D006407 |
النزف فوق الجافية Epidural hematoma، هو نزف يحدث بين الجمجمة والجافية (الطبقة الخارجية من السحايا).
أعراض وعلامات
نوع النزف | فوق الجافية | Subdural |
---|---|---|
المكان | Between the skull and the dura | Between the dura and the arachnoid |
Involved vessel | Temperoparietal locus (most likely) - Middle meningeal artery Frontal locus - anterior ethmoidal artery Occipital locus - transverse or sigmoid sinuses Vertex locus - superior sagittal sinus |
Bridging veins |
Symptoms | Lucid interval followed by unconsciousness | Gradually increasing headache and confusion |
Appearance on CT | Biconvex lens | Crescent-shaped |
يحدث في الحالات الوصفية فقدان وعي عابر بعد الرضِّ الدماغي، ومن ثم يستعيد المريض وعيه وتجاوبه مدة عدة ساعات، وبعدها يعود الوعي إلى التدهور مع حدوث ضعف شقي مقابل واتساع في حدقة العين في الجانب الموافق للنزف. وجدير بالذكر أن هذه الأعراض التقليدية تحدث على هذا النحو في 10ـ 25% من الحالات فقط. ومن الأعراض الأخرى الصداع والإقياء والاختلاجات. قد تؤدي الحالة إلى الوفاة نتيجة انضغاط مراكز دماغية حساسة (كتلك المسؤولة عن التنفس) إن لم يعالج النزف.
الأسباب
يحدث هذا النوع من النزف في نحو 1% من المرضى الذين يدخلون المشفى بسبب رضّ دماغي، وينتج عادة من حدوث كسر في المنطقة الصدغية الجدارية من الجمجمة. مما يؤدي إلى تمزق الشريان السحائي المتوسط وحدوث النزف. وفي قلة من الحالات يكون منشأ النزف من الأوردة (وليس الشرايين) السحائية.[1]
العلاج
تستعمل أحياناً الأدوية التي تخفف الوذمة والانضغاط الدماغي (مثل الستيروئيدات) [ر. الوذمة الدماغية]، أما التدبير الأساسي في الحالات الحرجة فهو الجراحة العاجلة، وفيها يتم تفريغ النزف وتخثير المناطق النازفة وغيرها من الإجراءات في أثناء العمل الجراحي، لمنع إعادة تجمع الدم والسوائل.
التشخيص
قد تبدي الصورة البسيطة للجمجمة وجود كسر. لكن الاختبار الأمثل للتشخيص هو التصوير الطبقي المحوري للدماغ CT.scan، فهو يُظهر النزف على شكل منطقة عالية الكثافة محدبة من الجهتين ومحاذية للجمجمة.
الإنذار
تقدر نسبة الوفيات بنحو20ـ 55%. وتنخفض هذه النسبة في حال التشخيص والمعالجة العاجلين إلى 5 ـ10%.
المصادر
- ^ زياد درويش. "النزف الهضمي". الموسوعة العربية. Retrieved 2011-05-23.
وصلات خارجية
- MedPix: Epidural hematoma - Pictures of Epidural Hematoma
- MedPix: Epidural hematoma